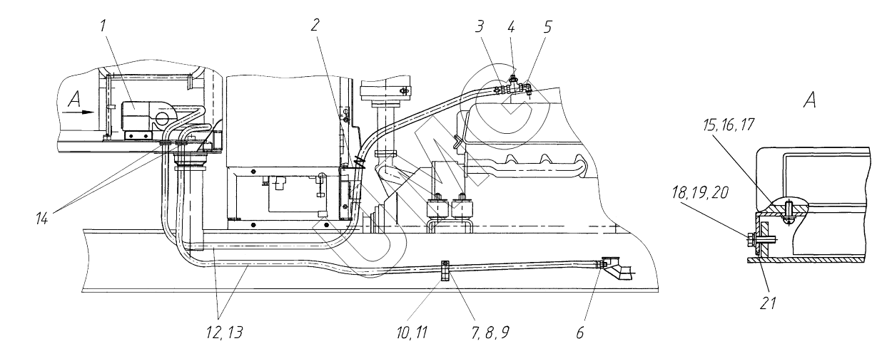
АГ-180 (с механической КПП). Система отопления кабины 250.41.00.00.000-01
1
2
3
4
5
6
7
8
9
10
11
12
13
14
15
16
17
18
19
20
21
| Позиция на иллюстрации | Заводской номер детали | Название детали | |
|---|---|---|---|
| 1 | ОС-7-У2-24-21 | Отопитель ОС-7-У2-24-21 | |
| 2 | 250.41.00.00.004 | Зацеп | |
| 3 | 250.41.00.00.006 | Ниппель | |
| 4 | Кран Ду 20 т/ф 11Б6бк | Кран конусный проходной сальниковый муфтовый латунный Ду 20 т/ф 11Б6бк | |
| 5 | 250.41.00.00.001 | Угольник | |
| 6 | 250.41.00.00.005 | Ниппель | |
| 7 | Болт М8х16 | Болт М8х16 | |
| 8 | Шайба 8 65Г | Шайба 8 65Г | |
| 9 | Шайба С.8 | Шайба | |
| 10 | 258.05.00.00.002 | Хомут | |
| 11 | 274.11.00.00.002 | Трубка | |
| 12 | 250.41.00.00.008 | Рукав 16х25-1,6 | |
| 13 | Хомут червячный «NORMA» 16-27 | Хомут червячный «NORMA» 16-27 | |
| 14 | О.860.9909-02 | Втулка | |
| 15 | Винт ВМ5х10 | Винт | |
| 16 | Шайба 5 65Г | Шайба 5 65Г | |
| 17 | Шайба С.5 | Шайба | |
| 18 | Болт М6х20 | Болт М6х20 | |
| 19 | Шайба 6 65Г | Шайба 6 65Г | |
| 20 | Шайба С.6 | Шайба С.6 | |
| 21 | 274.41.02.00.003 | Корыто |