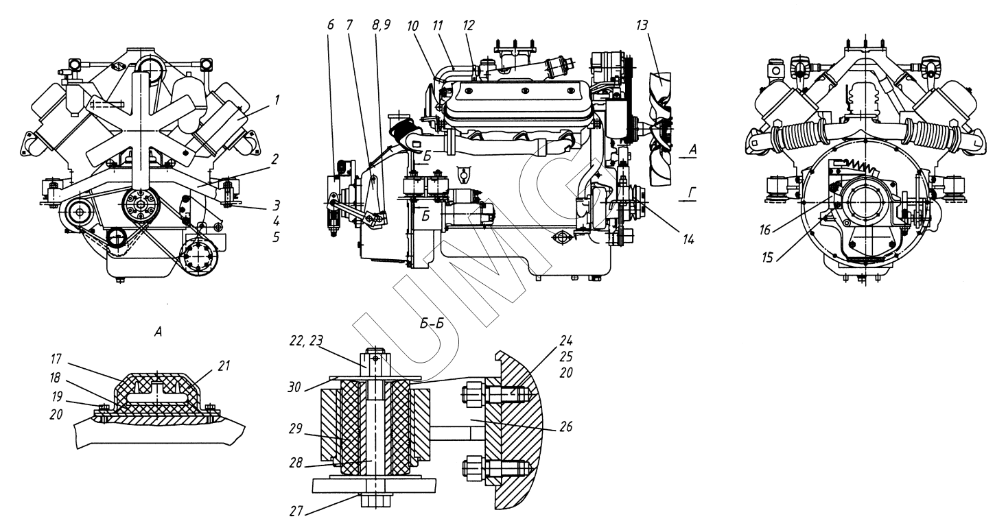
АГ-180 (с механической КПП). Установка двигателя 250.02.05.00.000-08
1
2
3
4
5
6
7
8
9
10
11
12
13
14
15
16
17
18
19
20
20
21
22
23
24
25
26
27
28
29
30
| Позиция на иллюстрации | Заводской номер детали | Название детали | |
|---|---|---|---|
| 1 | ЯМЗ-236М2- 1000140-73 | Двигатель | |
| 2 | 250.02.05.00.004 | Балка | |
| 3 | Болт М20-6gх120.58.016 | Болт М20-6gх120.58.016 | |
| 4 | Гайка М20-6Н.6.016 | Гайка | |
| 5 | Шайба С.20.02. | Шайба С.20.02. | |
| 6 | 250.02.05.01.000 | Тормозок | |
| 7 | 250.02.05.04.000 | Рычаг | |
| 8 | Болт М12-6gх50.58.016 | Болт М12-6gх50.58.016 | |
| 9 | Гайка М12-6H.5 | Гайка М12-6H.5 | |
| 10 | Хомут пластиковый 300 мм | Хомут пластиковый | |
| 11 | 250.02.05.00.008 | Рукав | |
| 12 | Хомут червячный 32 -50 | Хомут червячный 32 -50 | |
| 13 | LS- 40X88.9-Z500W-9S | Вентилятор с муфтой | |
| 14 | 727.02.01.00.002 | Шкив | |
| 15 | Болт М14-6gх70.58.016 | Болт М14-6gх70.58.016 | |
| 16 | 250.02.05.00.006 | Опора | |
| 17 | 630300- 1001031 | Скоба опоры двигателя | |
| 18 | 630300-1001020 | Подушка | |
| 19 | 250.02.05.00.005 | Болт | |
| 20 | Шайба 14.65Г | Шайба 14.65Г | |
| 21 | 630300-1001029 | Амортизатор | |
| 22 | Гайка М16-6Н.6.45.016 | Гайка | |
| 23 | Шплинт 4х40.016 | Шплинт 4х40.016 | |
| 24 | 250.02.05.00.003 | Шпилька | |
| 25 | Гайка М14-6Н.6.016 | Гайка М14-6Н.6.016 | |
| 26 | 250.02.05.02.000 | Опора | |
| 27 | 200.08.00.00.053 | Шайба | |
| 28 | 225.02.05.00.007 | Болт | |
| 29 | 200.16.00.01.000 | Амортизатор | |
| 30 | 200.16.00.00.001 | Шайба | |
| 31 | 771.02.09.00.001 | Переходник | |
| 32 | Болт М10-6gх25.109.40Х.016 | Болт М10-6gх25.109.40Х.016 | |
| 33 | Шайба 10.65Г | Шайба 10.65Г | |
| 34 | Болт М10-6gх35.109.40Х.016 | Болт М10-6gх35.109.40Х.016 |