TLH 3507-12. Установка силовая. 3507-30-28.00.000-05
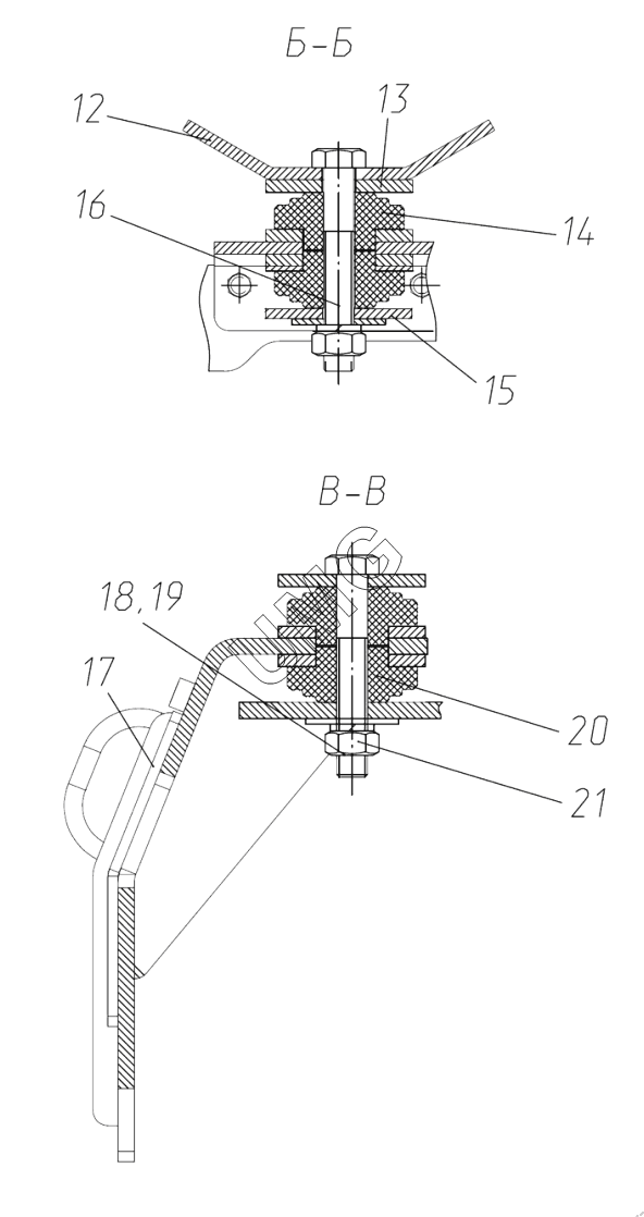
12
13
14
15
16
17
18
19
20
21
| Позиция на иллюстрации | Заводской номер детали | Название детали | |
|---|---|---|---|
| 1 | 3507-00-28.08.000 | Установка защиты глушителя | |
| 2 | 3507-00-28.01.000-10 | Установка глушителя | |
| 3 | 3507-00-28.04.000 | Установка воздушного фильтра | |
| 4 | 3507-00-28.03.000-04 | Установка блока радиаторов | |
| 5 | 3507-00-28.05.000-11 | Установка топливопроводов | |
| 6 | 3507-30-28.02.000-03 | Установка КПП | |
| 7 | 96.00.01.00.002 | Болт | |
| 8 | 96.02.00.00.001 | Шайба | |
| 9 | 51.04.04.00.004 | Шайба.65Г.016 | |
| 10 | 9.04.04.00.100 | Двигатель | |
| 11 | 96.00.01.00.003 | Болт | |
| 12 | 3507-00-28.00.200-10 | Опора двигателя передняя | |
| 13 | 3507-00-28.00.004 | Шайба | |
| 14 | 9.16.01.00.020 | Опора антивибрационная | |
| 15 | 3507-00-28.00.008 | Шайба | |
| 16 | 96.00.02.00.018 | Болт | |
| 17 | 3507-00-28.00.150 | Опора двигателя верхняя | |
| 18 | 51.03.26.00.001 | Гайка | |
| 19 | 96.02.00.00.003 | Шайба | |
| 20 | 9.16.01.00.021 | Опора антивибрационная | |
| 21 | 9.16.01.00.050 | Шайба клиновая | |
| 22 | 3507-00-28.00.006 | Шайба | |
| 23 | 3507-00-28.00.300 | Опора двигателя правая | |
| 24 | 3507-00-28.00.002 | Шайба | |
| 25 | 3507-00-28.00.002-01 | Шайба | |
| 26 | 9.16.01.00.051 | Шайба клиновая | |
| 27 | 51.03.25.00.004 | Гайка | |
| 28 | 96.02.00.00.002 | Шайба | |
| 29 | 96.00.02.00.013 | Болт | |
| 30 | 9.16.01.00.019 | Опора антивибрационная |