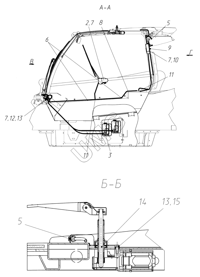
TLH 3507-12. Установка стеклоочистителей. 3507-00-23.75.000
2
3
5
5
6
7
7
7
8
9
10
11
11
12
13
13
14
15
| Позиция на иллюстрации | Заводской номер детали | Название детали | |
|---|---|---|---|
| 1 | 96.09.00.00.005 | Щетка | |
| 2 | 3507-00-23.75.000-10 | Установка стеклоочистителя бокового стекла | |
| 3 | 9.10.34.00.004 | Омыватель электрический | |
| 4 | 96.09.00.00.009 | Рычаг | |
| 5 | 9.10.34.00.034 | Жиклер | |
| 6 | 9.09.00.00.087 | Хомут | |
| 7 | 50.02.00.00.088 | Кольцо | |
| 8 | 9.16.01.00.090 | Шланг омывателя | |
| 9 | 51.03.15.00.004 | Гайка | |
| 10 | 96.09.00.00.002 | Привод | |
| 11 | 9.10.34.00.035 | Тройник трубок омывателя фар | |
| 12 | 96.09.00.00.003 | Привод | |
| 13 | 96.00.00.00.018 | Болт | |
| 14 | 96.09.00.00.001 | Привод | |
| 15 | 9.16.02.00.093 | Кольцо уплотнительное | |
| 16 | 96.09.00.00.008 | Щетка | |
| 17 | 96.09.00.00.004 | Рычаг | |
| 18 | 96.09.00.00.010 | Рычаг | |
| 19 | 96.09.00.00.006 | Щетка |