В товарах В каталоге запчастей

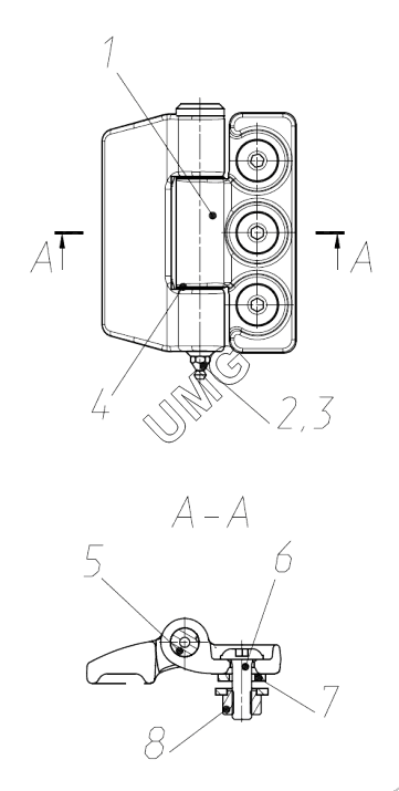
TLH 3507-12. Петля в сборе. 3507-00-23.40.100

zoom-in zoom-out enlarge shrink circle-right circle-left file-text2 info cart
1
2
3
4
5
6
7
8
Позиция на иллюстрации Заводской номер детали Название детали
1 202.02.01.00.025 Петля
2 62.01.00.00.010 Масленка
3 9.01.16.00.006 Колпачок с язычком-фиксатором
4 51.04.17.00.001 Шайба регулировочная
5 202.02.01.00.024 Ось петли
6 51.02.08.00.001 Винт
7 3507-00-23.40.101 Планка
8 3507-00-23.40.110 Планка резьбовая
АвтоКаталог-онлайн предоставлен Компанией АвтоСофт