В товарах В каталоге запчастей

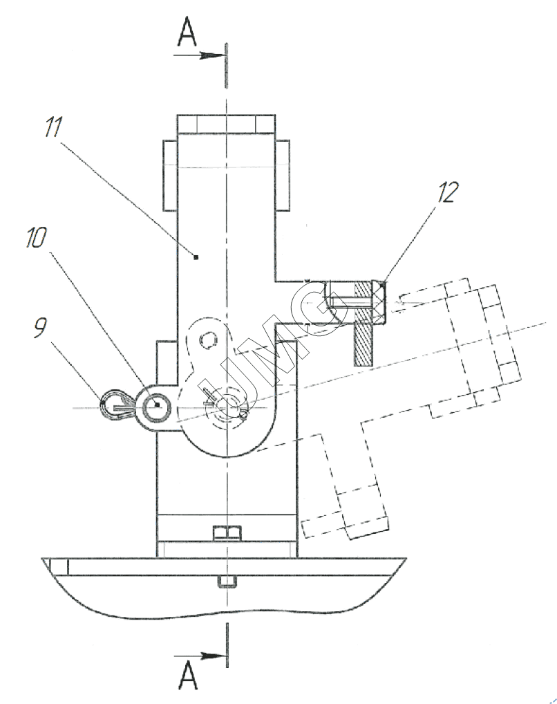
TLH 3507-12. Установка буфера рабочего оборудования. 3507-04-88.00.00

zoom-in zoom-out enlarge shrink circle-right circle-left file-text2 info cart
9
10
11
12
Позиция на иллюстрации Заводской номер детали Название детали
1 9.16.01.00.214 Подушка крепления
2 96.04.00.00.001 Винт
3 96.02.00.00.002 Шайба
4 96.00.02.00.010 Болт
5 51.04.04.00.004 Шайба.65Г.016
6 3507-03-88.10.100 Металлоконструкция опоры
7 51.06.01.00.001 Шплинт
8 3507-02-88.00.003 Ось
9 9.16.01.00.179 Шплинт
10 3507-02-88.00.004 Ось
11 3507-03-88.20.100 Металлоконструкция скобы
12 9.07.10.00.180 Буфер резиновый
АвтоКаталог-онлайн предоставлен Компанией АвтоСофт