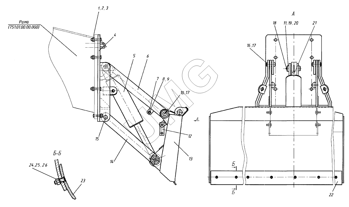
АГ-180 (с ГМП). Отвал передний 751.21.00.00.000-00
1
2
3
4
5
6
7
8
9
10
11
12
13
14
15
16
17
17
18
19
20
21
22
23
24
25
26
| Позиция на иллюстрации | Заводской номер детали | Название детали | |
|---|---|---|---|
| 1 | Болт М24х100 | Болт М24х100 | |
| 2 | Гайка М24 | Гайка М24 | |
| 3 | Шайба 24 65Г | Шайба 24 65Г | |
| 4 | 751.21.01.00.000-00 | Опора | |
| 5 | 402.09.05.00.000 Т AS | Гидроцилиндр | |
| 6 | 255.21.04.00.000-00 | Тяга | |
| 7 | 255.07.01.01.003 | Планка | |
| 8 | Болт М20х50 | Болт М20х50 | |
| 9 | Гайка М20 | Гайка М20 | |
| 10 | 751.21.00.00.011-02 | Ось | |
| 11 | 255.21.00.00.003 | Кольцо | |
| 12 | 255.00.00.00.007 | Стяжка | |
| 13 | 255.21.05.00.000 | Отвал | |
| 14 | 751.21.07.00.000 | Рамка | |
| 15 | 751.21.00.00.011-01 | Ось | |
| 16 | 751.21.00.00.011 | Ось | |
| 17 | Кольцо В45 | Кольцо | |
| 18 | Масленка 1.3.Ц6 | Масленка 1.3.Ц6 | |
| 19 | 751.21.00.00.002 | Ось | |
| 20 | Кольцо В60 | Кольцо В60 | |
| 21 | 751.21.03.00.000 | Гидросистема отвала переднего | |
| 22 | 751.21.00.00.006 | Нож | |
| 23 | 751.21.00.00.007 | Нож | |
| 24 | 225.07.04.00.001-01 | Болт | |
| 25 | Гайка М16 | Гайка М16 | |
| 26 | Шайба 16 65Г | Шайба 16 65Г |