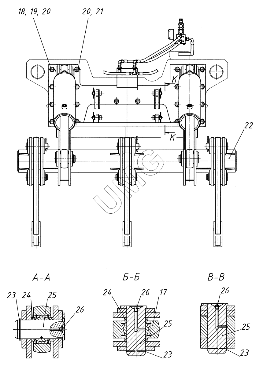
АГ-180 (с ГМП). Кирковщик к автогрейдеру АГ-180 754.19.00.00.000.000
17
18
19
20
20
21
22
23
23
23
24
24
25
25
25
26
26
26
| Позиция на иллюстрации | Заводской номер детали | Название детали | |
|---|---|---|---|
| 1 | 754.19.01.01.000 | Опора | |
| 2 | 754.19.02.00.000 | Гидросистема кирковщика | |
| 3 | 727.19.03.00.000 | Электрооборудование рыхлителя | |
| 4 | 159.19.00.00.003 | Проушина | |
| 5 | 159.19.00.00.004 | Ось | |
| 6 | 200.01.00.00.035 | Защелка | |
| 7 | Шайба С.24 | Шайба С.24 | |
| 8 | 159.19.00.00.005 | Стяжка | |
| 9 | 159.19.00.00.002 | Проушина | |
| 10 | 225.19.06.00.007 | Наконечник | |
| 11 | 225.19.06.00.008 | Ось | |
| 12 | 255.19.03.10.000 | Зуб | |
| 13 | 159.19.00.00.007 | Ось | |
| 14 | Кольцо В50 | Кольцо | |
| 15 | 255.19.00.00.002 | Палец | |
| 16 | Шплинт 10х100 | Шплинт 10х100 | |
| 17 | 402.09.05.00.000Т AS | Гидроцилиндр | |
| 18 | Болт М24х90 | Болт М24х90 | |
| 19 | Гайка М24 | Гайка М24 | |
| 20 | Шайба 24 65Г | Шайба 24 65Г | |
| 21 | Болт М24х60 | Болт | |
| 22 | 255.19.01.00.000 | Рама | |
| 23 | Кольцо В60 | Кольцо В60 | |
| 24 | 255.21.00.00.003 | Кольцо | |
| 25 | 159.19.00.00.006 | Ось | |
| 26 | Масленка 1.3 Ц6 | Масленка 1.3 Ц6 |