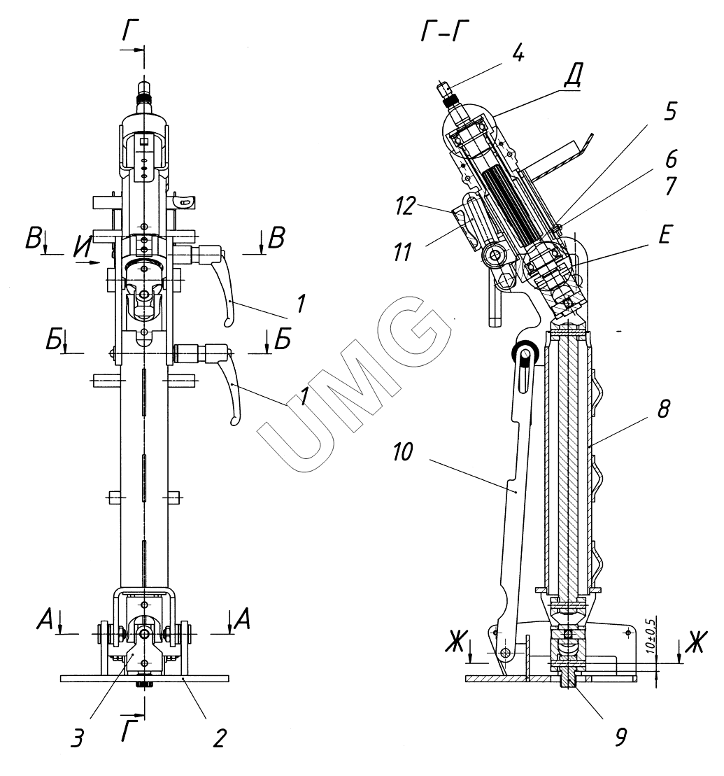
АГ-180 (с ГМП). Колонка рулевая 754.14.05.01.000
1
1
2
3
4
5
6
7
8
9
10
11
12
| Позиция на иллюстрации | Заводской номер детали | Название детали | |
|---|---|---|---|
| 1 | GN 300-92-M12-SW | Ручка | |
| 2 | 754.04.03.01.600 | Основание | |
| 3 | 180.12.07.00.000 | Вал | |
| 4 | 180.12.05.00.000 | Вал | |
| 5 | 180.12.00.00.002 | Вал | |
| 6 | Винт В.М5-6gх10 | Винт В.М5-6gх10 | |
| 7 | Шайба 5 65Г | Шайба 5 65Г | |
| 8 | 754.14.05.01.100 | Стойка | |
| 9 | 180.12.00.00.001 | Вал | |
| 10 | 754.04.03.01.008 | Направляющая | |
| 11 | 754.04.03.01.013 | Направляющая | |
| 12 | 754.14.05.01.200 | Корпус | |
| 13 | 754.14.05.01.001 | Шайба | |
| 14 | 754.14.05.01.002 | Ось | |
| 15 | Гайка М12-6Н | Гайка М12-6Н | |
| 16 | Шайба С.12.02 | Шайба | |
| 17 | 180.12.00.00.003 | Ось | |
| 18 | 180.12.00.00.008 | Прокладка | |
| 19 | 180.12.00.00.012 | Втулка | |
| 20 | 721.04.13.01.009 | Шайба | |
| 21 | 180.12.00.00.010 | Втулка | |
| 22 | 180.12.00.00.017 | Втулка | |
| 23 | 180.12.00.00.009 | Втулка | |
| 24 | 721.04.12.01.008 | Пружина | |
| 25 | Винт В.М6-6gх10 | Винт В.М6-6gх10 | |
| 26 | Гайка М6-6Н.05 | Гайка М6-6Н.05 | |
| 27 | 180.12.08.00.000 | Рычаг | |
| 28 | 754.14.05.01.300 | Рычаг | |
| 29 | 754.04.03.01.014 | Втулка | |
| 30 | 180.12.00.00.019 | Пружина тарельчатая | |
| 31 | 754.04.03.01.007 | Втулка | |
| 32 | Кольцо А47 | Кольцо А47 | |
| 33 | Кольцо А25 | Кольцо А25 | |
| 34 | 721.04.12.01.006 | Шайба | |
| 35 | 721.04.12.01.007 | Шайба | |
| 36 | Подшипник 105 | Подшипник 105 | |
| 37 | Штифт 8х45 | Штифт 8х45 | |
| 38 | 754.14.05.01.003 | Ось | |
| 39 | Гайка М10-6Н.05 | Гайка М10-6Н.05 | |
| 40 | 21213-6814152-008 | Шайба |