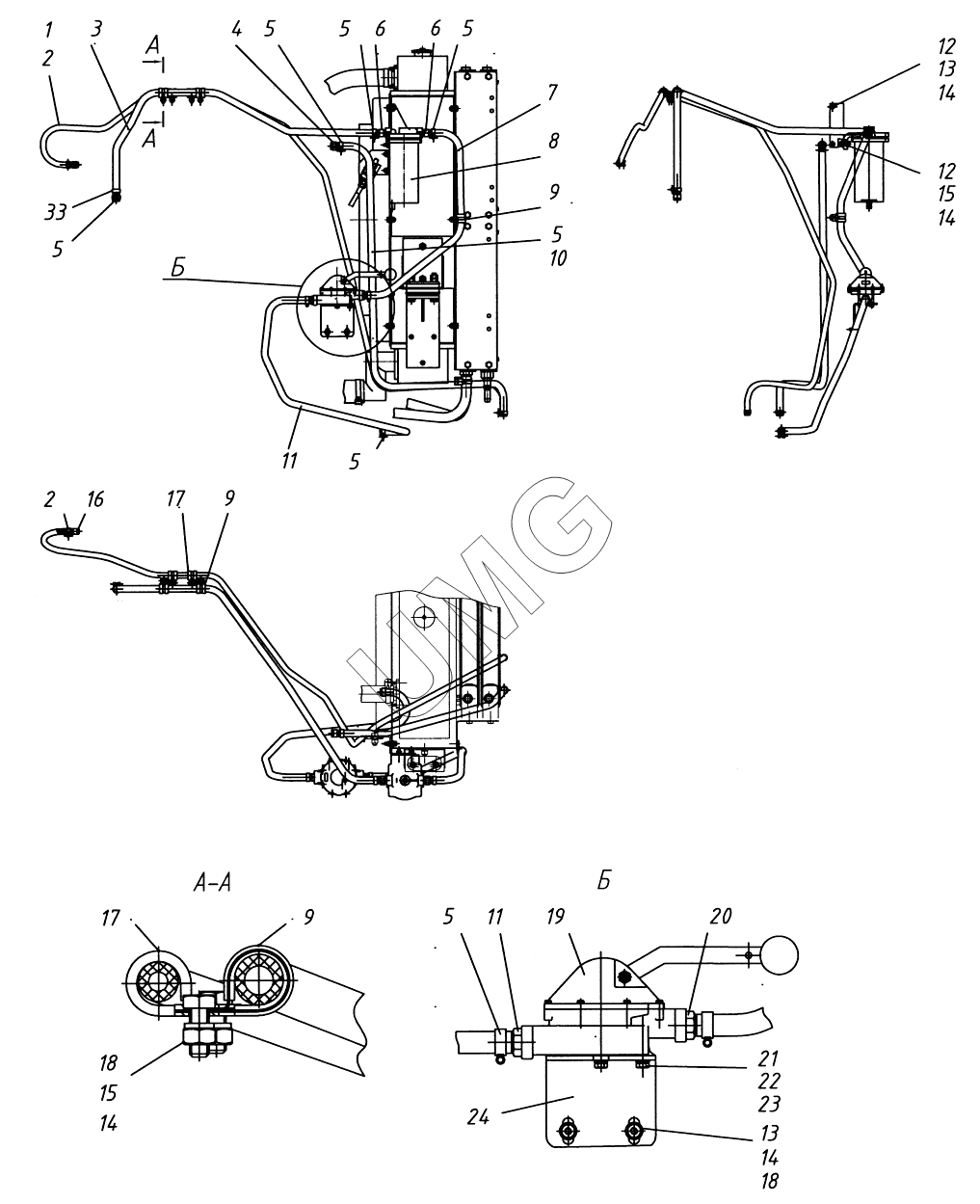
АГ-180 (с ГМП). Система топливная 754.02.18.00.000-10
1
1
2
2
3
4
5
5
5
5
5
5
6
6
7
8
9
9
10
11
12
12
13
14
14
15
16
17
| Позиция на иллюстрации | Заводской номер детали | Название детали | |
|---|---|---|---|
| 1 | 727.02.18.00.004 | Рукав | |
| 1 | 727.02.18.00.100 | Кронштейн | |
| 2 | Хомут червячный "NORMA" 12-22 | Хомут червячный "NORMA" 12-22 | |
| 3 | 727.02.18.00.003 | Рукав | |
| 4 | 727.02.08.00.001 | Штуцер | |
| 5 | Хомут червячный "NORMA" 16-27 | Хомут червячный "NORMA" 16-27 | |
| 6 | 727.02.08.00.003 | Штуцер | |
| 7 | 727.02.18.00.002 | Рукав | |
| 8 | 204А-1105510-Б | Фильтр грубой очистки топлива | |
| 9 | Хомут Rubber 20/20 тип D DIN 3016 | Хомут Rubber 20/20 тип D DIN 3016 | |
| 10 | 727.02.18.00.005 | Рукав | |
| 11 | 727.02.18.00.001 | Консоль | |
| 12 | Болт М8-6gх30.58.016 | Болт М8-6gх30.58.016 | |
| 13 | Шайба С.8.02.Ст3сп.016 | Шайба | |
| 14 | Шайба 8 65Г 016 | Шайба | |
| 15 | Гайка M8-6Н.6.016 | Гайка | |
| 16 | 727.02.08.00.002 | Штуцер | |
| 17 | Хомут Rubber 18/15 тип D DIN 3016 | Хомут | |
| 18 | Болт М8-6gх20.58.016 | Болт М8-6gх20.58.016 | |
| 19 | РНМ1-1106210 | Насос ручной | |
| 20 | 727.02.18.00.011 | Ниппель | |
| 21 | Болт М6-6gх16.58.016 | Болт | |
| 22 | Шайба С.6.02.Ст3сп.016 | Шайба | |
| 23 | Шайба 6 65Г 016 | Шайба | |
| 24 | 727.02.18.00.014 | Кронштейн |