АГ-140. Система охлаждения 727.02.02.00.000-00
1
2
3
4
4
4
4
5
5
6
7
7
8
9
9
9
10
10
10
10
11
11
11
11
12
13
14
15
16
17
18
19
19
20
20
21
21
22
23
24
25
26
27
28
29
30
31
32
33
34
35
36
37
37
37
38
39
40
41
42
43
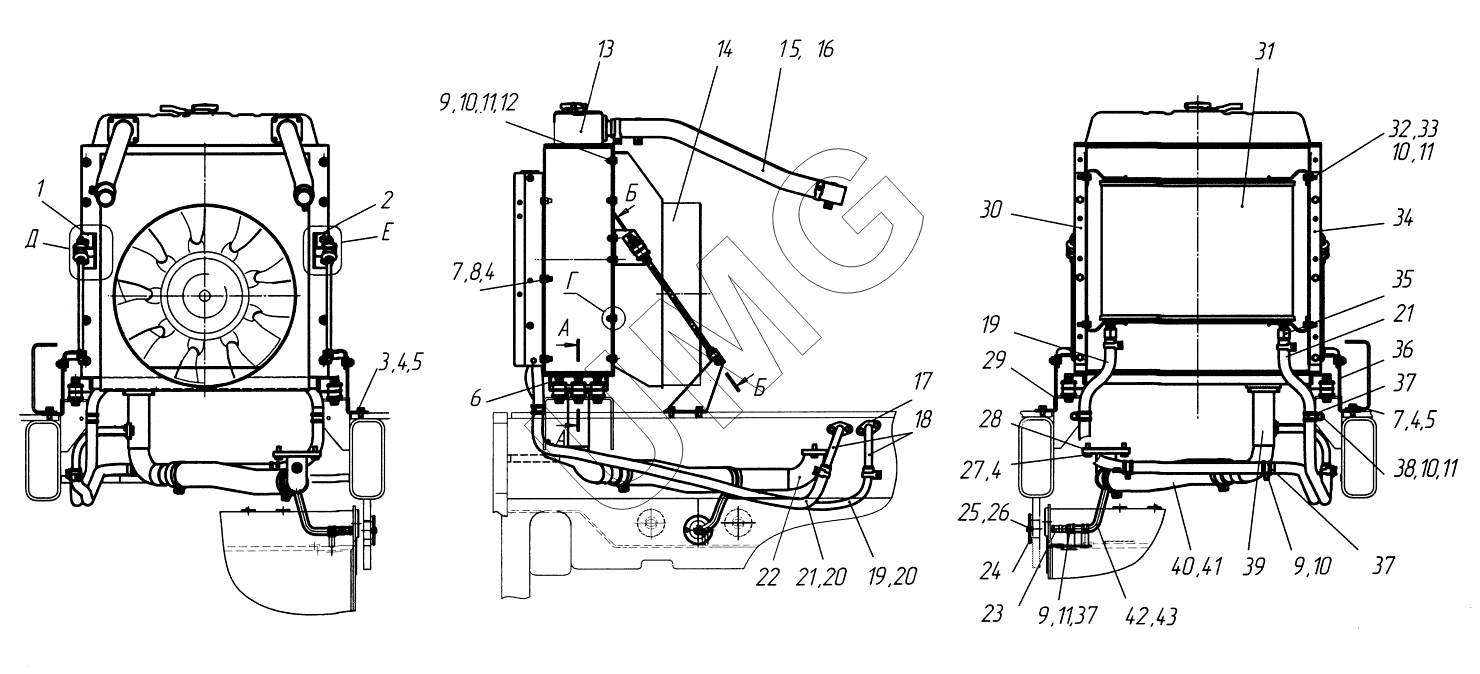
| Позиция на иллюстрации | Заводской номер детали | Название детали | |
|---|---|---|---|
| 1 | 250.02.06.04.000 | Кронштейн | |
| 2 | 250.02.06.05.000 | Кронштейн | |
| 3 | Болт М10-6gх20.58.016 | Болт | |
| 4 | Шайба 10 65Г 016 | Шайба | |
| 5 | Шайба С.10.02.Ст3сп.016 | Шайба | |
| 6 | 250.02.06.00.013 | Кронштейн | |
| 7 | Болт М10-6gх25.58.016 | Болт М10-6gх25.58.016 | |
| 8 | Гайка М10-6Н.6.016 | Гайка | |
| 9 | Болт М8-6gх20.58.016 | Болт М8-6gх20.58.016 | |
| 10 | Гайка М8-6Н.6.016 | Гайка М8-6Н.6.016 | |
| 11 | Шайба 8 65Г 016 | Шайба | |
| 12 | Шайба 8-100 HV | Шайба 8-100 HV | |
| 13 | 150У.13.010-4-02 | Радиатор водяной | |
| 14 | 727.02.02.01.000 | Диффузор | |
| 15 | 727.02.02.00.005 | Рукав | |
| 16 | Хомут червячный "NORMA" 40-60 | Хомут червячный "NORMA" 40-60 | |
| 17 | 250.02.06.00.006 | Прокладка | |
| 18 | 727.02.02.06.000 | Маслопровод | |
| 19 | 727.02.02.00.003 | Рукав | |
| 20 | Хомут червячный "NORMA" 20-32 | Хомут червячный | |
| 21 | 727.02.02.00.002 | Рукав | |
| 22 | 727.02.02.08.000 | Патрубок | |
| 23 | 727.02.02.00.009 | Заглушка | |
| 24 | 727.02.02.00.011 | Крышка | |
| 25 | Болт М6-6gх10.58.016 | Болт М6-6gх10.58.016 | |
| 26 | Шайба 6 65Г 016 | Шайба | |
| 27 | Болт М10-6gх30.58.016 | Болт М10-6gх30.58.016 | |
| 28 | 250.02.06.00.021 | Прокладка | |
| 29 | 727.02.02.00.001 | Кронштейн | |
| 30 | 250.02.06.00.003 | Кронштейн | |
| 31 | 150У.08.000-1 | Радиатор масляный | |
| 32 | Болт М8-6gх30.58.016 | Болт М8-6gх30.58.016 | |
| 33 | Шайба С.8.02.Ст3сп.016 | Шайба | |
| 34 | 250.02.06.00.004 | Кронштейн | |
| 35 | 727.02.02.00.010 | Ниппель | |
| 36 | 727.02.02.00.00101 | Кронштейн | |
| 37 | Хомут Rubber 20/20 тип D DIN 3016 | Хомут Rubber 20/20 тип D DIN 3016 | |
| 38 | Болт М8-6gх25.58.016 | Болт | |
| 39 | 727.02.02.03.000 | Патрубок | |
| 40 | 727.02.02.00.006 | Рукав ( | |
| 41 | Хомут червячный "NORMA" 50-70 | Хомут червячный "NORMA" 50-70 | |
| 42 | 760.22.02.00.012 | Рукав 10х17,5 L=500 мм | |
| 43 | Хомут червячный "NORMA" 12-22 | Хомут червячный "NORMA" 12-22 | |
| 44 | Гайка М12-6Н.6.016 | Гайка | |
| 45 | 225.02.00.00.001 | Прокладка | |
| 46 | 225.02.00.00.002 | Втулка | |
| 47 | 255.02.00.00.003 | Чашка | |
| 48 | Болт М12-6gх70.58.016 | Болт М12-6gх70.58.016 | |
| 49 | Шайба С.12.02.Ст3сп.016 | Шайба | |
| 50 | 250.02.06.00.002 | Ось | |
| 51 | 250.02.06.00.001 | Уголок | |
| 52 | Болт М12-6gх30.58.016 | Болт М12-6gх30.58.016 | |
| 53 | Шайба 12 65Г 016 | Шайба |