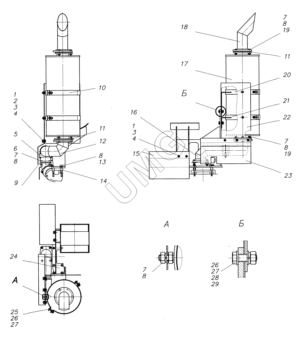
АГ-140. Установка глушителя 727.02.23.00.000
1
1
2
3
3
4
4
5
6
7
7
7
7
8
8
8
8
8
9
10
11
11
12
13
14
15
16
17
18
19
19
20
21
22
23
24
25
26
26
27
27
28
29
| Позиция на иллюстрации | Заводской номер детали | Название детали | |
|---|---|---|---|
| 1 | Болт М8-6gх25.58.016 | Болт | |
| 2 | Гайка М8-6Н.6.016 | Гайка М8-6Н.6.016 | |
| 3 | Шайба 8 65Г | Шайба 8 65Г | |
| 4 | Шайба С8.02 | Шайба С8.02 | |
| 5 | Robust 80-85 | Хомут силовой одноболтовый | |
| 6 | Болт М10-6gх50.58.016 | Болт М10-6gх50.58.016 | |
| 7 | Гайка М10-6Н.6.016 | Гайка | |
| 8 | Шайба 10.65Г | Шайба 10.65Г | |
| 9 | 727.02.23.00.006 | Прокладка | |
| 10 | 727.02.13.00.002 | Скоба | |
| 11 | 257.02.03.00.002 | Прокладка | |
| 12 | 727.02.23.01.000 | Патрубок | |
| 13 | Болт М10-6gх90.58.016 | Болт М10-6gх90.58.016 | |
| 14 | 237.02.03.00.001 | Втулка | |
| 15 | 727.02.23.00.008 | Экран | |
| 16 | 237.02.03.03.000 | Патрубок | |
| 17 | 49251201010 | Глушитель выпуска | |
| 18 | 727.02.13.04.000 | Патрубок | |
| 19 | Болт М10-6gх40.58.016 | Болт М10-6gх40.58.016 | |
| 20 | 727.02.23.03.000 | Кронштейн | |
| 21 | 727.02.23.04.000 | Кронштейн | |
| 22 | 727.02.23.00.001 | Экран | |
| 23 | 727.02.23.00.007 | Экран | |
| 24 | 727.02.23.02.000 | Кронштейн | |
| 25 | Болт М12-6gх45.88.016 | Болт М12-6gх45.88.016 | |
| 26 | Гайка М12-6Н.6.016 | Гайка | |
| 27 | Шайба 12.65Г | Шайба 12.65Г | |
| 28 | Болт М12-6gх35.58.016 | Болт | |
| 29 | Шайба С.12.02 | Шайба |