АГ-140. Коробка перемены передач 240.30.13.00.000-02 (установка привода спидометра)
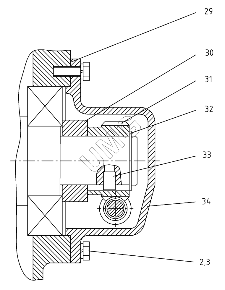
2
3
29
30
31
32
33
34
| Позиция на иллюстрации | Заводской номер детали | Название детали | |
|---|---|---|---|
| 1 | 240.30.13.01.000-01 | Механизм переключения | |
| 2 | Болт M10-6gx30.58.016 | Болт | |
| 3 | Шайба 10 65Г 016 | Шайба | |
| 4 | 240.30.13.00.011 | Болт | |
| 5 | Шайба С.10.02 | Шайба С.10.02 | |
| 6 | 0877.1020 | Пробка | |
| 7 | 0.877.1033 | Прокладка | |
| 8 | 225.44.03.02.006 | Ручка | |
| 9 | 0856.0128 | Прокладка | |
| 10 | 240.30.11.00.000 | Коробка перемены передач | |
| 11 | 240.30.13.02.000 | Тяга | |
| 12 | 274.08.03.00.000 | Вилка | |
| 13 | 240.30.11.00.039-01 | Палец | |
| 14 | Шайба С.12.02 | Шайба | |
| 15 | Шплинт 3,2х25.06 | Шплинт 3,2х25.06 | |
| 16 | 240.30.11.00.100 | Установка датчика заднего хода | |
| 17 | 240.30.11.00.039 | Палец | |
| 18 | Гайка M16-6Н.05.016 | Гайка M16-6Н.05.016 | |
| 19 | 240.30.11.05.000 | Вилка | |
| 20 | 0804.1028 | Палец | |
| 21 | Шайба С.20.02 | Шайба | |
| 22 | Шплинт 4х36.06 | Шплинт 4х36.06 | |
| 23 | 240.30.13.03.000 | Рычаг | |
| 24 | 240.30.13.00.004-02 | Прокладка | |
| 25 | 240.30.13.00.010 | Болт | |
| 26 | Гайка M10-6Н.6.016 | Гайка M10-6Н.6.016 | |
| 27 | 253.00.00.00.001-02 | Проволока пломбировочная | |
| 28 | Пломба тросовая "ТК ТРОС" D=1,5 | Пломба тросовая | |
| 29 | 240.30.11.00.013 | Прокладка | |
| 30 | 240.30.11.00.014 | Шайба | |
| 31 | 240.30.11.00.072 | Шестерня | |
| 32 | Кольцо В50 | Кольцо | |
| 33 | 240.30.11.00.066 | Штифт | |
| 34 | 240.30.11.10.000 | Привод спидометра |