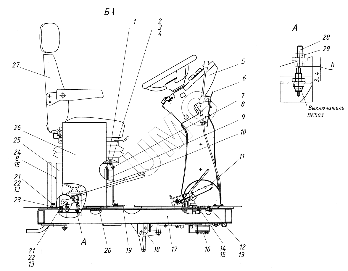
АГ-140. Место рабочее 727.04.00.00.000
1
2
3
4
5
6
7
8
8
9
10
11
12
13
13
13
14
15
15
16
17
18
19
20
21
21
22
22
23
24
25
26
27
28
29
| Позиция на иллюстрации | Заводской номер детали | Название детали | |
|---|---|---|---|
| 1 | 721.04.02.00.007 | Уплотнитель | |
| 2 | Болт М8х20 | Болт | |
| 3 | Шайба 8 | Шайба 8 | |
| 4 | Шайба С.8 | Шайба | |
| 5 | 754.14.02.00.000 | Колонка рулевая в сборе | |
| 6 | 727.14.03.00.000 | Установка рукояток управления | |
| 7 | Винт М6х16 | Винт | |
| 8 | Шайба С.6 | Шайба С.6 | |
| 9 | 274.04.02.15.000 | Решетка | |
| 10 | 274.04.02.05.000 | Тормоз ручной | |
| 11 | 257.04.09.00.000-03 | Педаль газа | |
| 12 | Болт М10х20 | Болт М10х20 | |
| 13 | Шайба 10 | Шайба 10 | |
| 14 | Болт М6х20 | Болт М6х20 | |
| 15 | Шайба 6 | Шайба | |
| 16 | 257.04.05.00.000-01 | Насос-дозатор | |
| 17 | 727.04.01.00.000 | Каркас площадки | |
| 18 | 274.04.02.07.000 | Установка педали сцепления | |
| 19 | 250.04.05.07.000 | Крышка | |
| 20 | 721.04.00.00.003-01 | Прокладка | |
| 21 | Болт М10х25 | Болт М10х25 | |
| 22 | Шайба С.10 | Шайба С.10 | |
| 23 | 721.04.03.00.000-01 | Лист | |
| 24 | Болт М6х12 | Болт М6х12 | |
| 25 | 250.04.05.09.000 | Опора | |
| 26 | 721.04.04.03.000 | Корпус | |
| 27 | СТ-111.010.000 | Сиденье оператора | |
| 28 | Болт М10х35 | Болт М10х35 | |
| 29 | Гайка М10 | Гайка М10 | |
| 30 | 727.04.00.00.002 | Коврик | |
| 31 | 721.04.00.00.003 | Прокладка | |
| 32 | 727.04.00.00.001 | Коврик | |
| 33 | 721.04.00.00.004 | Прокладка | |
| 34 | 721.04.00.00.003-02 | Прокладка | |
| 35 | 271.04.02.04.605 | Фиксатор | |
| 36 | Гайка М12 | Гайка М12 | |
| 37 | Болт М12х70 | Болт М12х70 | |
| 38 | 225.04.03.07.001 | Кольцо фрикционное | |
| 39 | 225.04.03.07.002 | Пружина | |
| 40 | 225.04.03.07.701 | Втулка | |
| 41 | Винт М6х10 | Винт | |
| 42 | Болт М12х30 | Болт М12х30 | |
| 43 | Шайба 12 | Шайба 12 |