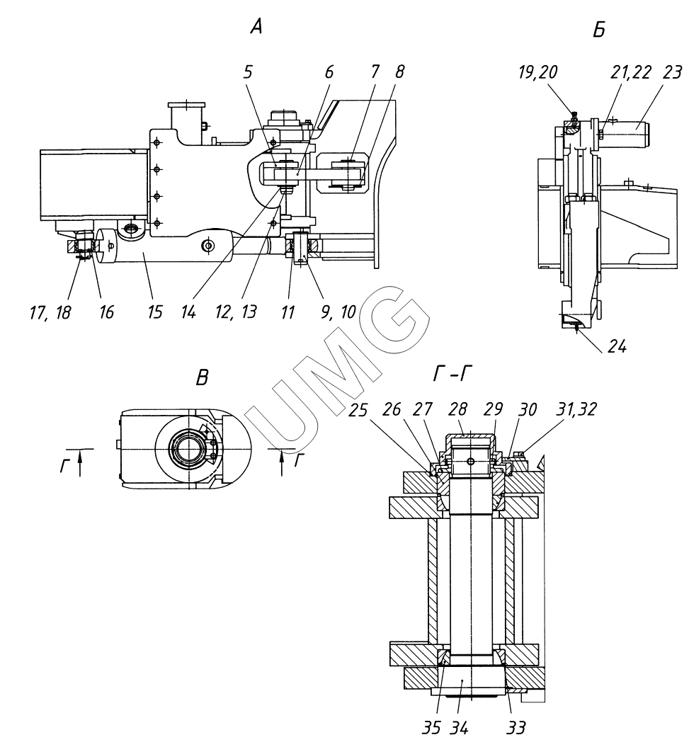
АГ-140. Рама 727.01.00.00.000-02
5
6
7
8
9
10
11
12
13
14
15
16
17
18
19
20
21
22
23
24
25
26
27
28
29
30
31
32
33
34
35
| Позиция на иллюстрации | Заводской номер детали | Название детали | |
|---|---|---|---|
| 1 | 225.81.00.00.003 | Втулка | |
| 2 | 727.01.01.00.000-02 | Оборудование рамы подмоторной | |
| 3 | 727.01.02.00.000 | Рама передняя | |
| 4 | 250.01.03.00.000 | Кронштейн | |
| 5 | 225.21.11.00.002 | Кронштейн | |
| 6 | 727.01.00.00.001 | Тяга | |
| 7 | 240.01.00.00.003 | Ось | |
| 8 | 200.01.00.00.035 | Защелка | |
| 9 | 240.01.00.00.004 | Ось | |
| 10 | Шплинт 8х80 | Шплинт 8х80 | |
| 11 | 274.01.00.00.001 | Кольцо | |
| 12 | 0.804.1090 | Ось | |
| 13 | Кольцо В45 | Кольцо | |
| 14 | 271.19.00.00.003 | Шайба | |
| 15 | ГЦО2-100х63х250 Т AS | Гидроцилиндр | |
| 16 | 240.01.00.00.005 | Шайба | |
| 17 | Гайка М24 | Гайка М24 | |
| 18 | Шплинт 5х45 | Шплинт 5х45 | |
| 19 | Винт М12х50 | Винт | |
| 20 | Гайка М12 | Гайка М12 | |
| 21 | Болт М20х50 | Болт М20х50 | |
| 22 | Шайба 20 | Шайба 20 | |
| 23 | 250.01.05.00.000 | Цилиндр фиксатора | |
| 24 | Масленка 1.3 | Масленка 1.3 | |
| 25 | Кольцо 145-155-46-2-2 | Кольцо | |
| 26 | 751.01.00.00.003 | Вкладыш | |
| 27 | 751.01.00.00.004 | Гайка | |
| 28 | 751.01.00.00.002 | Крышка | |
| 29 | 751.01.00.00.005 | Штифт | |
| 30 | 751.01.00.00.006 | Ригель | |
| 31 | Болт М12х25 | Болт М12х25 | |
| 32 | Шайба 12 | Шайба 12 | |
| 33 | Кольцо 115-125-58-2-2 | Кольцо | |
| 34 | 751.01.03.00.000 | Ось | |
| 35 | GE 80 SX | Подшипник |