TLH 3510-12. Установка блока радиаторов. 3507-00-28.03.000-03
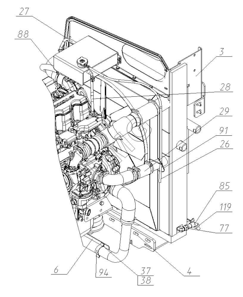
3
4
6
26
27
28
29
37
38
77
88
91
94
119
| Позиция на иллюстрации | Заводской номер детали | Название детали | |
|---|---|---|---|
| 1 | 3507-00-28.03.050 | Кронштейн РВД | |
| 2 | 3507-30-28.03.060 | Корпус | |
| 3 | 3507-00-28.03.100-20 | Кронштейн | |
| 4 | 3507-00-28.03.200 | Кронштейн радиатора | |
| 5 | 3507-00-28.03.300 | Диффузор | |
| 6 | 3507-00-28.03.080 | Кронштейн | |
| 8 | 130-00-28.06.004 | Шайба | |
| 9 | 3507-00-28.00.009-01 | Лист защитный | |
| 11 | 140-50-28.00.004 | Шайба | |
| 12 | 3507-30-28.03.014 | Болт | |
| 14 | 3507-00-28.03.003 | Втулка | |
| 15 | 3507-00-28.03.004 | Уголок упорный | |
| 16 | 3507-00-28.03.005 | Кронштейн | |
| 17 | 3507-00-28.03.006 | Перегородка | |
| 18 | 3507-00-28.03.007-01 | Перегородка | |
| 19 | 3507-00-28.03.008 | Кронштейн | |
| 20 | 3507-00-28.03.009 | Уплотнение | |
| 21 | 3507-00-28.03.011 | Уплотнитель | |
| 22 | 3507-00-28.03.012 | Уплотнитель | |
| 24 | 3507-00-28.03.014 | Уплотнитель | |
| 25 | 3507-00-28.03.015 | Уплотнитель | |
| 26 | 3507-00-28.03.016 | Рукав | |
| 27 | 3507-00-28.03.017 | Рукав | |
| 28 | 3507-00-28.03.018 | Рукав | |
| 29 | 3507-00-28.03.019 | Рукав | |
| 31 | 3507-00-28.03.021 | Рукав | |
| 32 | 3507-01-28.03.022 | Рукав | |
| 34 | 3507-01-28.03.024-01 | Рукав | |
| 35 | 3507-00-28.03.025 | Рукав | |
| 37 | 26950031620 | Болт | |
| 38 | 26950017582 | Болт | |
| 39 | 26950025795 | Болт | |
| 40 | 26950030869 | Болт | |
| 41 | 26950030870 | Болт | |
| 42 | 26950019522 | Болт DIN 6921 М6-6gх16.88.35Х.016 | |
| 43 | 26950015722 | Болт | |
| 44 | 26950015723 | Болт | |
| 45 | 26950017582 | Болт | |
| 46 | 26950015683 | Болт | |
| 47 | 26950024491 | Болт | |
| 48 | 26950002373 | Винт | |
| 49 | 02120000090 | Винт | |
| 51 | 02120000140 | Гайка | |
| 52 | 26950024458 | Гайка | |
| 53 | 26950026697 | Гайка | |
| 54 | 26950002784 | Гайка | |
| 55 | 02120000632 | Шайба | |
| 56 | 02120000634 | Шайба | |
| 57 | 02120000635 | Шайба | |
| 58 | 02120000627 | Шайба | |
| 59 | 02120000628 | Шайба | |
| 60 | 02120000637 | Шайба | |
| 61 | 02120000623 | Шайба | |
| 62 | 02120000625 | Шайба | |
| 63 | 26950011566 | Шайба | |
| 65 | 26950030475 | Труба | |
| 66 | 26950030476 | Труба | |
| 67 | 26950030477 | Труба | |
| 68 | 26950002315 | Адаптер | |
| 70 | 26950022629 | Амортизатор | |
| 71 | 26950029411 | Блок радиаторов | |
| 72 | 26950031345 | Реверсивный вентилятор | |
| 77 | 26950007121 | Кран шаровый водоразборный | |
| 78 | 26950030487 | Патрубок угловой силиконовый | |
| 80 | 26950029413 | Расширительный бачок | |
| 84 | 26950030872 | Скоба резиноармированная | |
| 86 | 26950011263 | Хомут | |
| 87 | 26950027100 | Хомут | |
| 88 | 26950010719 | Хомут | |
| 89 | 26950000335 | Хомут | |
| 91 | 02110000604 | Хомут | |
| 92 | 26950026575 | Хомут | |
| 93 | 26950027686 | Хомут усиленный | |
| 94 | 26950031110 | Хомут для крепления труб | |
| 95 | 26950030488 | Рукав | |
| 97 | 26950011421 | Манжета | |
| 101 | ЭМ000007371 | РВД | |
| 102 | ЭМ000007372 | РВД | |
| 103 | ЭМ000006554 | РВД | |
| 105 | ЭМ000006555 | РВД | |
| 106 | 26950032932 | РВД | |
| 108 | 02100000789 | Адаптер | |
| 110 | 02100000761 | Адаптер | |
| 111 | ЭМ000006551 | Адаптер | |
| 113 | 26950002888 | Адаптер | |
| 114 | 26950003013 | Адаптер | |
| 116 | ЭМ000009183 | Уплотнение | |
| 118 | 02070000001 | Loctite | |
| 119 | ЭМ000006409 | Многоцелевой герметик синий |