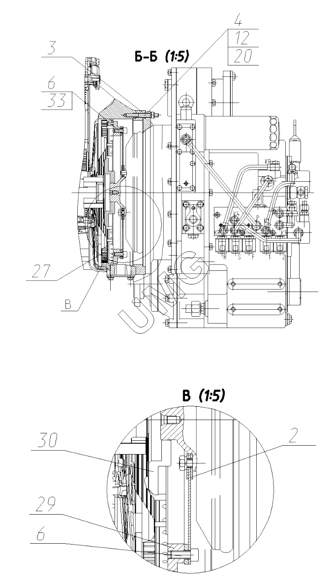
TLH 3510-12. Установка КПП. 3507-00-28.02.000-01
2
3
4
6
6
12
20
27
29
30
33
| Позиция на иллюстрации | Заводской номер детали | Название детали | |
|---|---|---|---|
| 1 | 3507-30-28.02.010 | Щуп | |
| 2 | 3507-30-28.02.009-01 | Проставка | |
| 3 | ЭМ000008372 | Кольцо проставочное | |
| 4 | 3507-30-28.02.004 | Шпилька | |
| 5 | ЭМ000006549 | Винт | |
| 6 | 26950031407 | Винт | |
| 7 | 26950026058 | Винт | |
| 10 | ЭМ000000825 | Болт | |
| 12 | 02120000127 | Гайка | |
| 19 | 02120000635 | Шайба | |
| 20 | 02120000626 | Шайба | |
| 25 | ЭМ000005183 | Коробка перемены передач | |
| 27 | ЭМ000009140 | Маховик | |
| 29 | ЭМ000009141 | Фланец промежуточный | |
| 30 | ЭМ000009179 | Фланец промежуточный | |
| 33 | 02070000001 | Loctite |