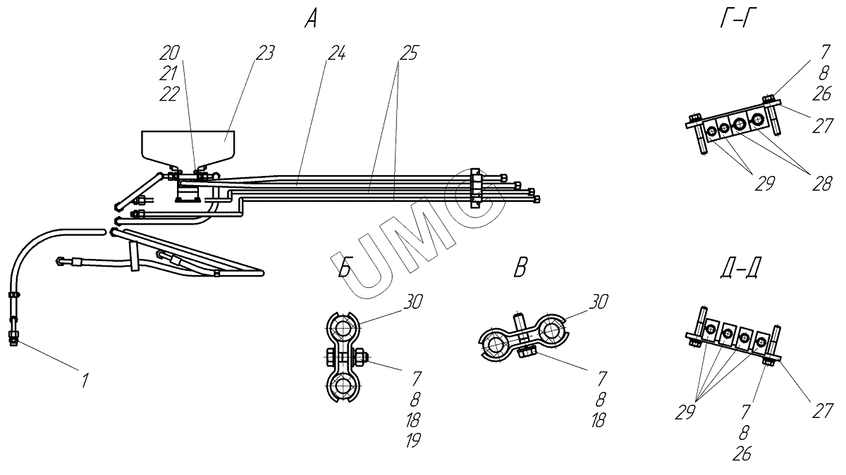
ГС-14.02. Гидросистема рабочего оборудования
1
7
7
7
7
8
8
8
8
18
18
19
20
21
22
23
24
25
26
26
27
27
28
29
29
30
30
| Позиция на иллюстрации | Заводской номер детали | Название детали | |
|---|---|---|---|
| 1 | TN92GG-12LR1/2" | Адаптер | |
| 2 | 250.45.04.00.001 | Хомут | |
| 3 | Рукав в сборе | Рукав в сборе | |
| 4 | Рукав в сборе | Рукав в сборе | |
| 5 | 250.45.04.03.000 | Трубопровод | |
| 6 | Болт М8х16 | Болт М8х16 | |
| 7 | Шайба 8 | Шайба 8 | |
| 8 | Шайба 8 | Шайба 8 | |
| 9 | 250.45.04.03.000-01 | Трубопровод | |
| 10 | 250.45.04.01.000 | Блок гидрораспределителей | |
| 11 | 250.45.04.04.000 | Трубопровод | |
| 12 | TN119-12L | Адаптер | |
| 13 | 250.45.04.05.000 | Трубопровод | |
| 14 | Рукав в сборе | Рукав в сборе | |
| 15 | Рукав в сборе | Рукав в сборе | |
| 16 | Рукав в сборе | Рукав в сборе | |
| 17 | 250.45.04.04.000-01 | Трубопровод | |
| 18 | Болт М8х35 | Болт М8х35 | |
| 19 | Гайка М8 | Гайка | |
| 20 | Болт М6х12 | Болт М6х12 | |
| 21 | Шайба 6 | Шайба | |
| 22 | Шайба 6 | Шайба | |
| 23 | 250.05.04.00.001 | Щиток | |
| 24 | 250.45.04.06.000 | Трубопровод | |
| 25 | 250.45.04.02.000 | Трубопровод | |
| 26 | Болт М8х50 | Болт М8х50 | |
| 27 | 0.884.2006-03 | Скоба | |
| 28 | 0.860.1030-12 | Втулка | |
| 29 | 0.860.1030-07 | Втулка | |
| 30 | 613.04.00.00.002 | Скоба |