ГС-14.02. Тележка
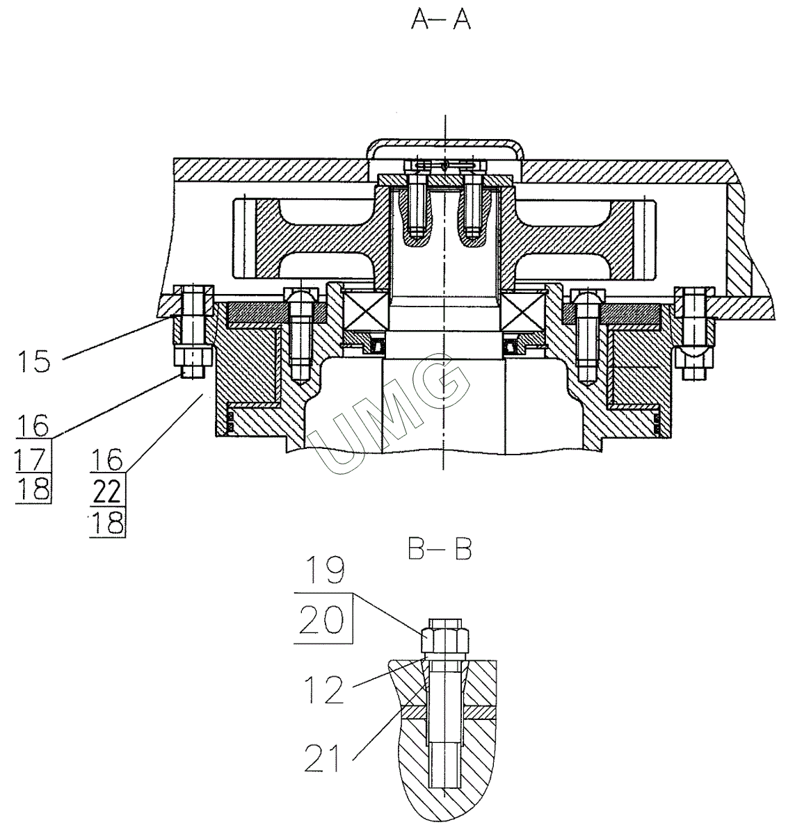
12
15
16
16
17
18
18
19
20
21
22
| Позиция на иллюстрации | Заводской номер детали | Название детали | |
|---|---|---|---|
| 1 | 248.06.03.00.000 | Колесо левое | |
| 2 | 248.03.02.00.000 | Балансир | |
| 3 | А-120.62.00.000 | Редуктор моста | |
| 4 | 248.06.04.00.000 | Колесо правое | |
| 5 | 0.820.2056-80 | Гайка | |
| 6 | Гайка Б М20х1,5 | Гайка | |
| 7 | 51-3103008-Б1 | Болт правый-шпилька | |
| 8 | Шпонка 2-25х14-140 | Шпонка 2-25х14-140 | |
| 9 | 240.03.00.00.005 | Пружина | |
| 10 | 240.03.00.00.004 | Гайка | |
| 11 | 0.813.0021-80 | Шпилька | |
| 12 | Шайба 16 65Г | Шайба 16 65Г | |
| 13 | 248.03.06.00.000-01 | Тормоз задних колес | |
| 14 | 225.73.04.00.000 | Барабан тормозной со ступицей | |
| 15 | 260.30.01.00.002 | Прокладка | |
| 16 | 240.03.00.00.002 | Шпилька | |
| 17 | 240.03.00.00.003 | Шайба | |
| 18 | Гайка М20х1,5 | Гайка | |
| 19 | 200.03.00.00.014-80 | Гайка шпильки | |
| 20 | 225.63.00.00.002-80 | Шпилька | |
| 21 | 225.03.00.00.002 | Втулка конусная | |
| 22 | 260.30.01.00.001 | Шайба |