В товарах В каталоге запчастей

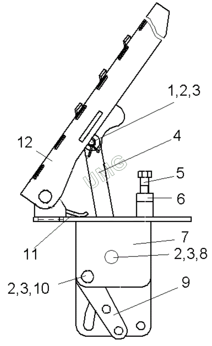
ГС-14.02. Педаль газа

zoom-in zoom-out enlarge shrink circle-right circle-left file-text2 info cart
1
2
2
2
3
3
3
4
5
6
7
8
9
10
11
12
Позиция на иллюстрации Заводской номер детали Название детали
1 257.04.09.00.002 Ось
2 Шайба 8 Шайба 8
3 Шплинт 2,5х16 Шплинт 2,5х16
4 257.04.09.00.001 Тяга
5 Болт М8х30 Болт М8х30
6 Гайка М8 Гайка
7 257.04.09.02.000 Основание
8 257.04.09.00.002-02 Ось
9 257.04.09.03.000 Рычаг
10 257.04.09.00.002-01 Ось
11 257.04.09.00.003 Пружина
12 257.04.09.01.000 Педаль
АвтоКаталог-онлайн предоставлен Компанией АвтоСофт