ГС-14.02. Место рабочее
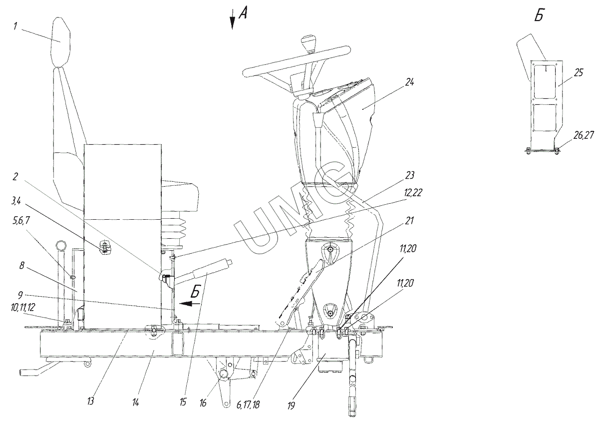
1
2
3
4
5
6
6
7
8
9
10
11
11
11
12
12
13
14
15
16
17
18
19
20
20
21
22
23
24
24
25
26
27
| Позиция на иллюстрации | Заводской номер детали | Название детали | |
|---|---|---|---|
| 1 | F2001/80Hx | Сиденье оператора F2001/80Hx | |
| 2 | 274.04.02.00.007 | Уплотнитель | |
| 3 | Болт М8х20 | Болт | |
| 4 | Шайба 8 | Шайба 8 | |
| 5 | Болт М6х12 | Болт М6х12 | |
| 6 | Шайба 6 | Шайба | |
| 7 | Шайба 6 | Шайба | |
| 8 | 274.04.02.09.000 | Опора | |
| 9 | 274.04.02.15.000 | Решетка | |
| 10 | Болт М10х25 | Болт М10х25 | |
| 11 | Шайба 10 | Шайба 10 | |
| 12 | Шайба 10 | Шайба 10 | |
| 13 | 721.04.03.00.000 | Лист | |
| 14 | 250.04.05.04.000 | Каркас площадки | |
| 15 | 274.04.02.05.000 | Тормоз ручной | |
| 16 | 274.04.02.07.000 | Установка педали сцепления | |
| 17 | Болт М6х20 | Болт М6х20 | |
| 18 | Гайка М6 | Гайка М6 | |
| 19 | 721.04.05.00.000-02 | Насос-дозатор | |
| 20 | Болт М10х20 | Болт М10х20 | |
| 21 | 257.04.09.00.000-01 | Педаль газа | |
| 22 | Винт М6х16 | Винт | |
| 23 | 274.04.02.14.000-01 | Установка рычагов | |
| 24 | 721.04.02.00.000 | Колонка рулевая | |
| 24 | 724.04.12.00.000 | Колонка рулевая | |
| 25 | 721.04.04.00.000 | Пульт | |
| 26 | Болт М12х30 | Болт М12х30 | |
| 27 | Шайба 12 | Шайба 12 | |
| 28 | 721.04.00.00.003-02 | Прокладка | |
| 29 | 721.04.00.00.003-01 | Прокладка | |
| 30 | 721.04.00.00.003 | Прокладка | |
| 31 | 721.04.00.00.004 | Прокладка | |
| 32 | 271.04.02.04.000 | Фиксатор | |
| 33 | 225.04.03.07.001 | Кольцо фрикционное | |
| 34 | 225.04.03.07.002 | Пружина | |
| 35 | 225.04.03.07.701 | Втулка | |
| 36 | Гайка М12 | Гайка М12 | |
| 37 | Болт М10х25 | Болт М10х25 | |
| 38 | Винт М6х10 | Винт | |
| 39 | 250.04.05.07.000 | Крышка | |
| 40 | 250.04.05.00.004 | Коврик | |
| 41 | 250.04.05.00.005 | Коврик |