В товарах В каталоге запчастей

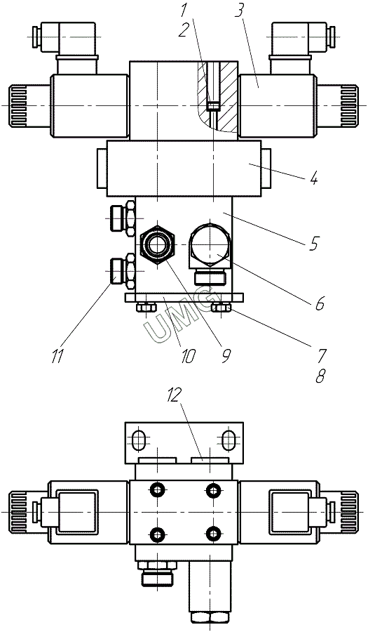
TG-250. Гидрораспределитель

zoom-in zoom-out enlarge shrink circle-right circle-left file-text2 info cart
1
2
3
4
5
6
7
8
9
10
11
12
Позиция на иллюстрации Заводской номер детали Название детали
1 Винт М5х85.109 Винт
2 Шайба 5 65Г Шайба 5 65Г
3 SWH-G02-C4-D24-20 Гидрораспределитель
4 MPC-02W Гидрозамок
5 ВР-6-1-S Гидропанель ВР-6-1-S
6 TN111GG-15LR Адаптер
7 Болт М8х16 Болт М8х16
8 Шайба 8 65Г Шайба 8 65Г
9 TN92GG-15LR Адаптер TN92GG-15LR
10 257.05.01.01.001 Кронштейн
11 TN92GG-12LR Адаптер TN92GG-12LR
12 TN185GG-1/2"R Адаптер TN185GG-1/2"R
АвтоКаталог-онлайн предоставлен Компанией АвтоСофт