Товары
Каталог запчастей
Личный кабинет
Авторизация
Портал для заказа запасных частей
В товарах
В каталоге запчастей
Внимание!!! Сайт только для тестирования.
Каталоги запчастей к технике UMG
Брянский Арсенал
ГС-14.02 (250-22)
Установка фонаря освещения номерного знака
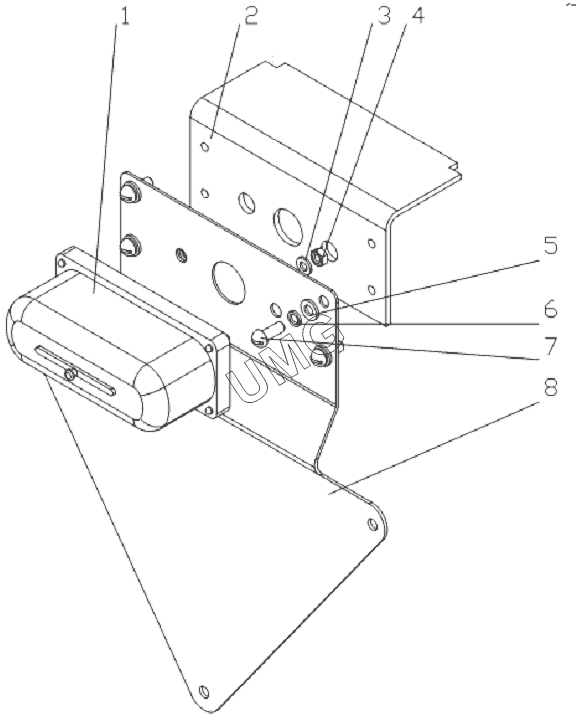
ГС-14.02 (250-22). Установка фонаря освещения номерного знака
zoom-in
zoom-out
enlarge
shrink
circle-right
circle-left
file-text2
info
cart
1
2
3
4
5
6
7
8
Позиция на иллюстрации
Заводской номер детали
Название детали
1
ФП131АБ
Фонарь освещения номерного знака
2
271.25.07.01.005
Кронштейн
3
ШайбаС6
Шайба
4
ГайкаM6
Гайка
5
ШайбаС6
Шайба
6
Шайба6.65Г
Шайба
7
ВинтВ.М6х16
Винт В.М 6х16
8
721.25.00.00.022
Кронштейн
Дополнительная информация
×
Название:
Номер:
Примечание:
АвтоКаталог-онлайн предоставлен
Компанией АвтоСофт