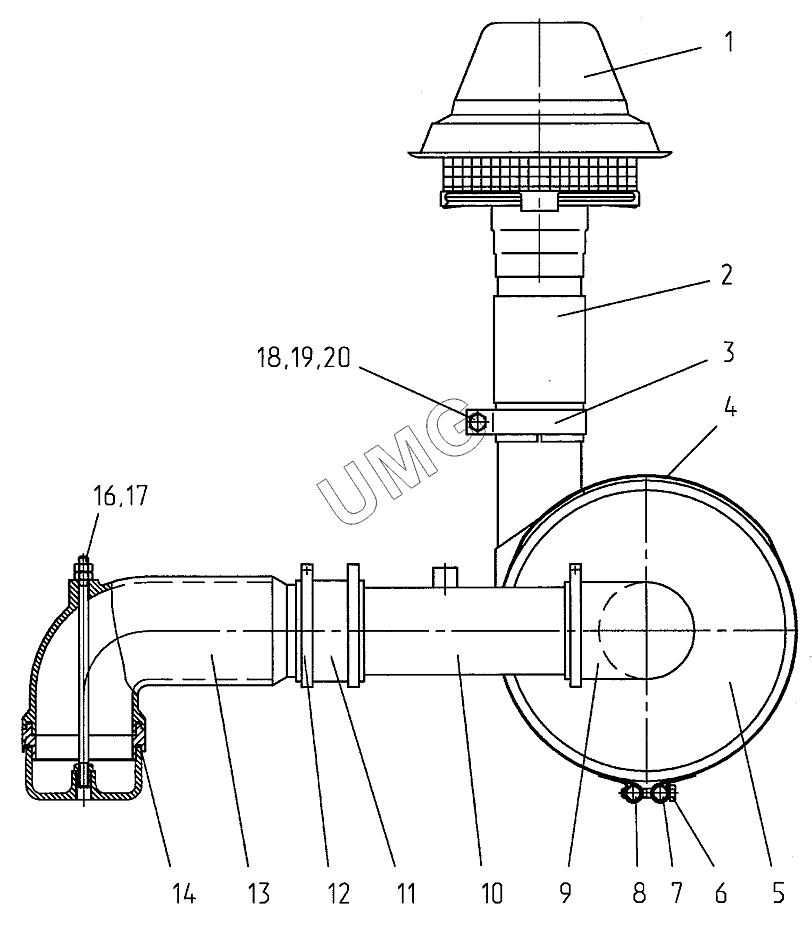
ГС-18.05 (752-10). Установка воздухоочистителя 250.02.03.00.000-03
1
2
3
4
5
6
7
8
9
10
11
12
13
14
16
17
18
19
20
| Позиция на иллюстрации | Заводской номер детали | Название детали | |
|---|---|---|---|
| 1 | А53.21.000-02 | Моноциклон А53.21.000-02 | |
| 2 | 286.02.03.00.001 | Труба | |
| 3 | 286.02.03.00.002 | Хомут | |
| 4 | 286.02.03.00.004 | Лента стяжная | |
| 5 | 260-1109015 | Воздухоочиститель | |
| 6 | БолтМ10х50 | Болт М10х50 | |
| 7 | 286.02.03.00.005 | Ось | |
| 8 | 286.03.02.00.006 | Ось | |
| 9 | 260.-1109009-А | Патрубок 260.-1109009-А | |
| 10 | 250.02.03.02.000-02 | Труба | |
| 11 | 250.02.03.00.005 | Рукав | |
| 12 | NORMA90-110 | Хомут червячный | |
| 13 | 250.02.03.01.000 | Патрубок | |
| 14 | 100-110-58-2-2 | Кольцо 100-110-58-2-2 | |
| 16 | 250.02.03.00.002 | Стяжка | |
| 17 | ГайкаМ10 | Гайка М10 | |
| 18 | БолтМ12х40 | Болт М12х40 | |
| 19 | ГайкаМ12 | Гайка М12 | |
| 20 | Шайба12.65Г | Шайба12.65Г |