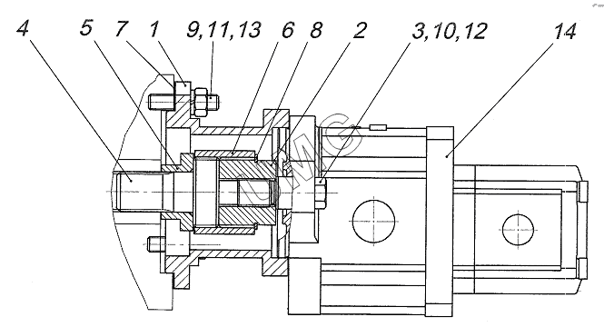
ГС-18.05 (752-10). Установка насоса 752.03.02.00.000
1
2
3
4
5
6
7
8
9
10
11
12
13
14
| Позиция на иллюстрации | Заводской номер детали | Название детали | |
|---|---|---|---|
| 1 | 752.03.02.00.100 | Переходник | |
| 2 | 752.03.02.00.001 | Втулка | |
| 3 | 752.03.02.00.002 | Болт | |
| 4 | 776.03.03.00.001 | Валик | |
| 5 | 776.03.03.00.002 | Втулка | |
| 6 | 776.03.03.00.004 | Втулка | |
| 7 | 776.03.03.00.005 | Прокладка | |
| 8 | В50 | Кольцо В50 | |
| 9 | ГайкаМ12 | Гайка М12 | |
| 10 | ГайкаМ14 | Гайка | |
| 11 | Шайба12.65Г | Шайба12.65Г | |
| 12 | Шайба14.65Г | Шайба 14.65Г | |
| 13 | Шайба12.65Г | Шайба12.65Г | |
| 14 | ШпилькаМ12х35.10.9 | Шпилька М12х35.10.9 |