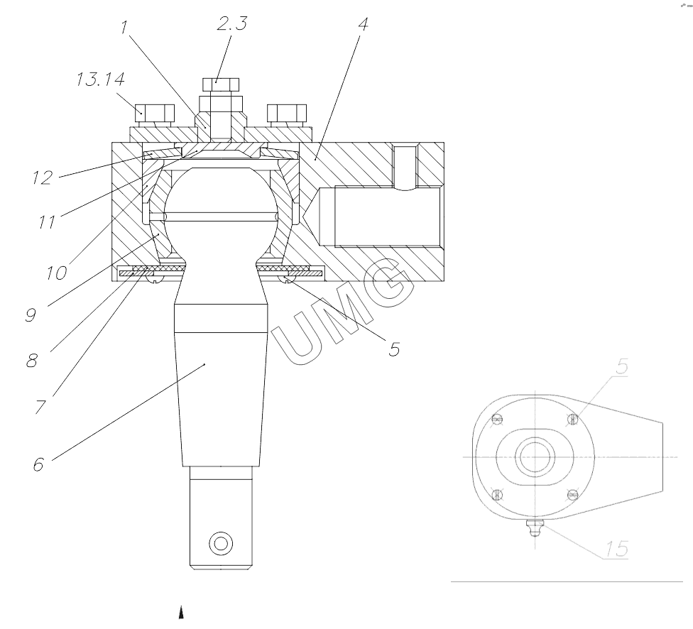
TG-250 (782-80). Шарнир 257.66.08.01.000-01
1
2
3
4
5
5
6
7
8
9
10
11
12
13
14
15
| Позиция на иллюстрации | Заводской номер детали | Название детали | |
|---|---|---|---|
| 1 | 257.66.08.01.100 | Крышка | |
| 2 | БолтМ8-6gх25.58.016 | Болт М8-6gх25.58.016 | |
| 3 | ГайкаМ8-6Н.6.016 | Гайка-6Н.6.016 | |
| 4 | 257.66.08.01.001-01 | Проушина | |
| 5 | ВинтВ.М6-6gх10.58.016 | Винт В.М6-6gх10.58.016 | |
| 6 | 257.66.08.01.002 | Палец шаровой | |
| 7 | 257.66.08.01.007 | Уплотнитель | |
| 8 | 257.66.08.01.006 | Крышка | |
| 9 | 257.66.08.01.003 | Обойма | |
| 10 | 257.66.08.01.004 | Втулка | |
| 11 | 257.66.08.01.005 | Упор | |
| 12 | 257.66.08.01.008 | Пружина тарельчатая | |
| 13 | Шайба8.65Г.016 | Шайба.65Г.016 | |
| 14 | БолтМ8-6gх20.58.016 | Болт | |
| 15 | Масленка1.3.Ц6 | Масленка 1.3.Ц6 |