Товары
Каталог запчастей
Личный кабинет
Авторизация
Портал для заказа запасных частей
В товарах
В каталоге запчастей
Внимание!!! Сайт только для тестирования.
Каталоги запчастей к технике UMG
Брянский Арсенал
TG-250 (782-80)
Фонарь освещения номерного знака
TG-250 (782-80). Фонарь освещения номерного знака
zoom-in
zoom-out
enlarge
shrink
circle-right
circle-left
file-text2
info
cart
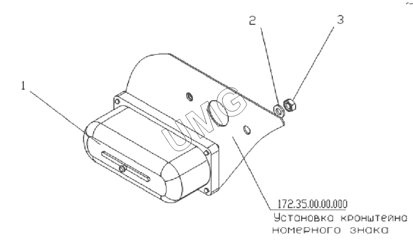
172.35.00.00.000
1
2
3
Позиция на иллюстрации
Заводской номер детали
Название детали
172.35.00.00.000
172.35.00.00.000
Установка кронштейна номерного знака
1
172.35.02.00.000
Кронштейн номерного знака с фонарем
2
ШайбаС6х1,4
Шайба
3
ГайкаM6
Гайка
Дополнительная информация
×
Название:
Номер:
Примечание:
АвтоКаталог-онлайн предоставлен
Компанией АвтоСофт