Товары
Каталог запчастей
Личный кабинет
Авторизация
Портал для заказа запасных частей
В товарах
В каталоге запчастей
Внимание!!! Сайт только для тестирования.
Каталоги запчастей к технике UMG
Брянский Арсенал
TG-250 (782-80)
Установка розетки
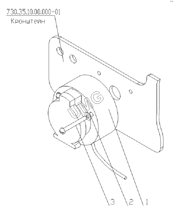
TG-250 (782-80). Установка розетки
zoom-in
zoom-out
enlarge
shrink
circle-right
circle-left
file-text2
info
cart
730.35.10.00.000-01
1
2
3
Позиция на иллюстрации
Заводской номер детали
Название детали
730.35.10.00.000-01
730.35.10.00.000-01
Кронштейн
1
ПС400
Розетка
2
ШайбаС4
Шайба С4
3
ВинтВ.М4х35
Винт В.М 4 х35
Дополнительная информация
×
Название:
Номер:
Примечание:
АвтоКаталог-онлайн предоставлен
Компанией АвтоСофт