Товары
Каталог запчастей
Личный кабинет
Авторизация
Портал для заказа запасных частей
В товарах
В каталоге запчастей
Внимание!!! Сайт только для тестирования.
Каталоги запчастей к технике UMG
Брянский Арсенал
TG-250 (782-80)
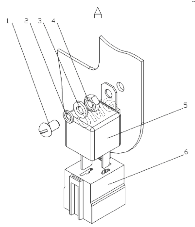
Установка реле
TG-250 (782-80). Установка реле
zoom-in
zoom-out
enlarge
shrink
circle-right
circle-left
file-text2
info
cart
1
2
3
4
5
6
Позиция на иллюстрации
Заводской номер детали
Название детали
1
ВинтВ.М6х16
Винт В.М 6х16
2
Шайба6.65Г
Шайба
3
ШайбаС6
Шайба
4
ГайкаМ6
Гайка
5
71.3747-11
Реле
6
617104
Колодка гнездовая
Дополнительная информация
×
Название:
Номер:
Примечание:
АвтоКаталог-онлайн предоставлен
Компанией АвтоСофт