Товары
Каталог запчастей
Личный кабинет
Авторизация
Портал для заказа запасных частей
В товарах
В каталоге запчастей
Внимание!!! Сайт только для тестирования.
Каталоги запчастей к технике UMG
Брянский Арсенал
TG-250 (782-80)
Установка выключателя "массы"
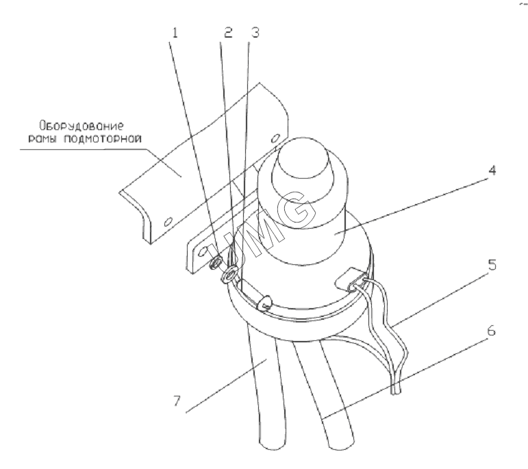
TG-250 (782-80). Установка выключателя "массы"
zoom-in
zoom-out
enlarge
shrink
circle-right
circle-left
file-text2
info
cart
1
2
3
4
5
6
7
Позиция на иллюстрации
Заводской номер детали
Название детали
1
Шайба6.65Г
Шайба
2
ШайбаС6х1,4
Шайба
3
ВинтВ.М6х16
Винт В.М 6х16
4
1410.3737
Выключатель 1410.3737
5
770.49.01.00.000
Жгут 7
6
770.49.07.00.000
Провод
7
770.49.06.00.000
Провод стартера
Дополнительная информация
×
Название:
Номер:
Примечание:
АвтоКаталог-онлайн предоставлен
Компанией АвтоСофт