В товарах В каталоге запчастей

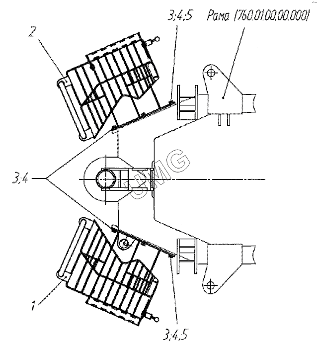
TG-180 (760-12). Установка лестниц 730.28.00.00.000

zoom-in zoom-out enlarge shrink circle-right circle-left file-text2 info cart
760.01.01.00.000
1
2
3
3
3
4
4
4
5
5
Позиция на иллюстрации Заводской номер детали Название детали
760.01.01.00.000 760.01.01.00.000 Рама подмоторная
1 730.28.01.00.000 Лестница левая
2 730.28.02.00.000 Лестница правая
3 51.01.02.00.046 Болт М16-6gх30.58.016
4 51.04.04.00.023 Шайба.65Г.029
5 51.04.02.00.064 Шайба С.16.02.Ст3сп.016
АвтоКаталог-онлайн предоставлен Компанией АвтоСофт