Товары
Каталог запчастей
Личный кабинет
Авторизация
Портал для заказа запасных частей
В товарах
В каталоге запчастей
Внимание!!! Сайт только для тестирования.
Каталоги запчастей к технике UMG
Брянский Арсенал
TG-180 (760-12)
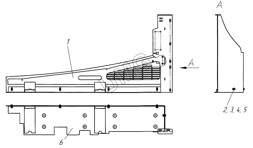
Облицовка правая 172.26.00.00.000
TG-180 (760-12). Облицовка правая 172.26.00.00.000
zoom-in
zoom-out
enlarge
shrink
circle-right
circle-left
file-text2
info
cart
1
2
3
4
5
6
Позиция на иллюстрации
Заводской номер детали
Название детали
1
172.26.01.00.000
Балка
2
БолтМ10х25
Болт М10х25
3
ГайкаМ10
Гайка М10
4
Шайба10.65Г.016
Шайба
5
ШайбаС.10.02.Ст3сп.016
Шайба С.10.02.Ст3сп.016
6
172.22.02.00.000-01
Основание
Дополнительная информация
×
Название:
Номер:
Примечание:
АвтоКаталог-онлайн предоставлен
Компанией АвтоСофт