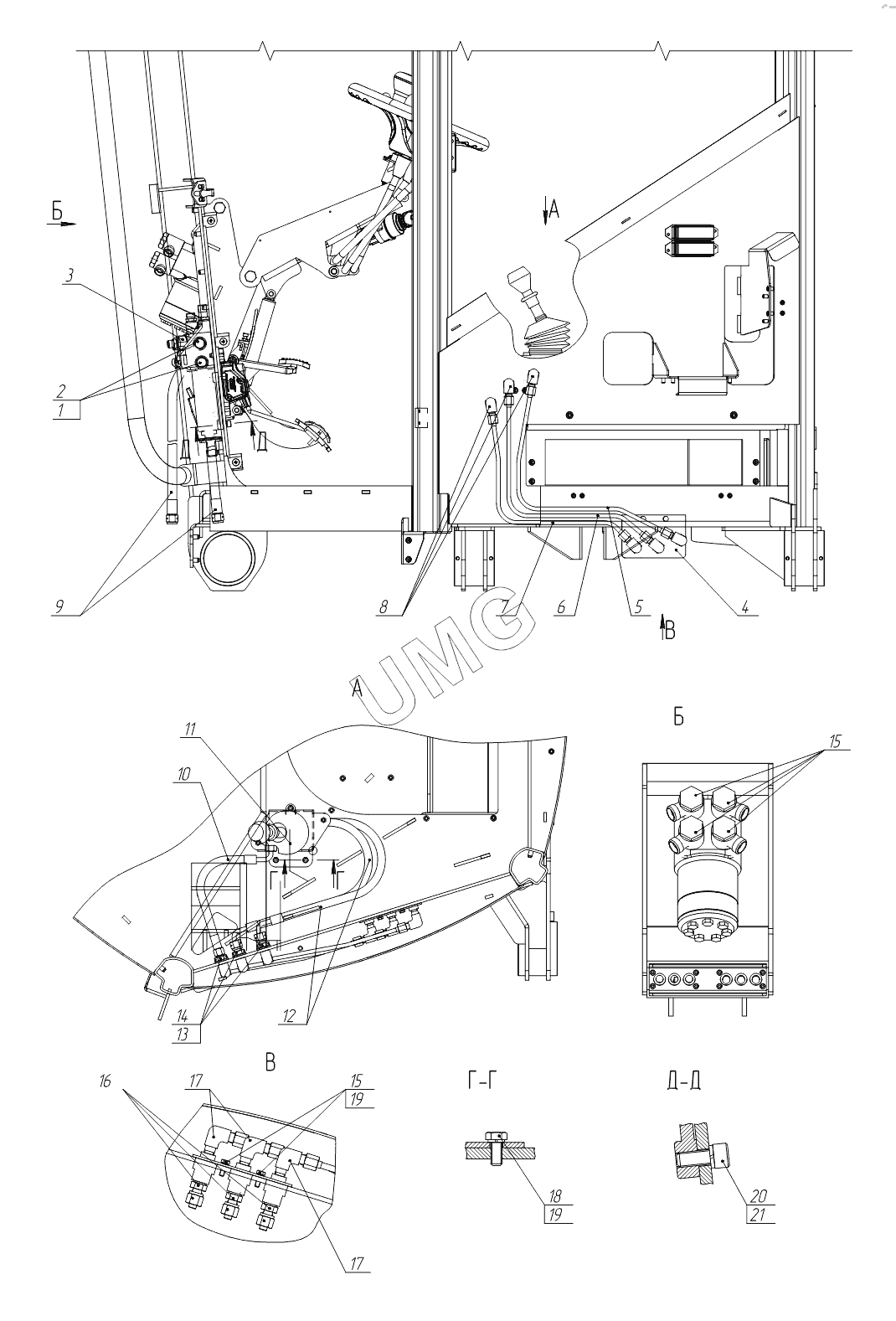
TG-180 (760-12). Гидросистема кабины 171.01.12.00.000
1
2
3
4
5
6
7
8
9
10
11
12
13
14
15
15
16
17
17
18
19
19
20
21
| Позиция на иллюстрации | Заводской номер детали | Название детали | |
|---|---|---|---|
| 1 | Прокладка14М3 | Прокладка | |
| 2 | 730.11.00.00.001 | Болт полый | |
| 3 | 730.11.01.00.000 | Педаль тормоза | |
| 4 | 730.11.09.00.000 | Кронштейн | |
| 5 | 730.11.04.00.000-02 | Трубопровод | |
| 6 | 730.11.04.00.000-01 | Трубопровод | |
| 7 | 730.11.04.00.000 | Трубопровод | |
| 8 | 730.11.00.00.002 | Угольник | |
| 9 | РВД8.35.1750.М16х1,5 | Рукав | |
| 10 | РВД8.35.350.М16х1,50/90 | Рукав РВД 8.35.350.М16х1,5 0/90 | |
| 11 | 730.11.03.00.000 | Клапан стояночного тормоза | |
| 12 | РВД8.35.550.М16х1,50/90 | Рукав РВД 8.35.550.М16х1,5 0/90 | |
| 13 | ГайкаМ16х1,5-22-БК | Гайка М16х1,5-22-БК | |
| 14 | Шайба16 | Шайба | |
| 15 | TN111GG-15LR | Адаптер | |
| 16 | TN92GG-10LR | Адаптер | |
| 17 | 730.11.00.00.003 | Угольник | |
| 18 | БолтМ6х16 | Болт | |
| 19 | Шайба6.65Г | Шайба | |
| 20 | ВинтМ8х20 | Винт М8х20 | |
| 21 | Шайба8.65Г | Шайба 8.65Г |