Товары
Каталог запчастей
Личный кабинет
Авторизация
Портал для заказа запасных частей
В товарах
В каталоге запчастей
Внимание!!! Сайт только для тестирования.
Каталоги запчастей к технике UMG
Брянский Арсенал
TG-200 (770.исп.11)
Опора 780.22.01.01.000
TG-200 (770.исп.11). Опора 780.22.01.01.000
zoom-in
zoom-out
enlarge
shrink
circle-right
circle-left
file-text2
info
cart
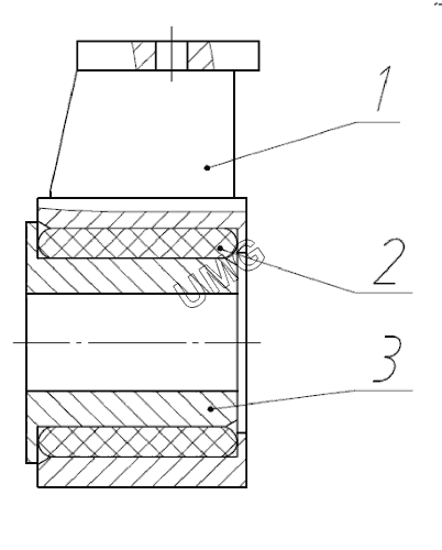
1
2
3
Позиция на иллюстрации
Заводской номер детали
Название детали
1
780.22.01.01.100
Опора
2
225.02.05.04.002
Втулка
3
264.02.03.04.200
Втулка
Дополнительная информация
×
Название:
Номер:
Примечание:
АвтоКаталог-онлайн предоставлен
Компанией АвтоСофт