Товары
Каталог запчастей
Личный кабинет
Авторизация
Портал для заказа запасных частей
В товарах
В каталоге запчастей
Внимание!!! Сайт только для тестирования.
Каталоги запчастей к технике UMG
Брянский Арсенал
TG-200 (770.исп.11)
Установка кожухов 761.27.00.00.000
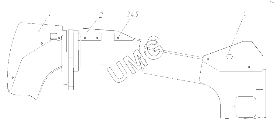
TG-200 (770.исп.11). Установка кожухов 761.27.00.00.000
zoom-in
zoom-out
enlarge
shrink
circle-right
circle-left
file-text2
info
cart
1
2
3
4
5
6
Позиция на иллюстрации
Заводской номер детали
Название детали
1
730.27.00.00.003
Кожух
2
730.27.00.00.002
Кожух
3
БолтМ8х20
Болт
4
Шайба865Г
Шайба
5
Шайба8
Шайба
6
761.27.01.00.000
Кожух
Дополнительная информация
×
Название:
Номер:
Примечание:
АвтоКаталог-онлайн предоставлен
Компанией АвтоСофт