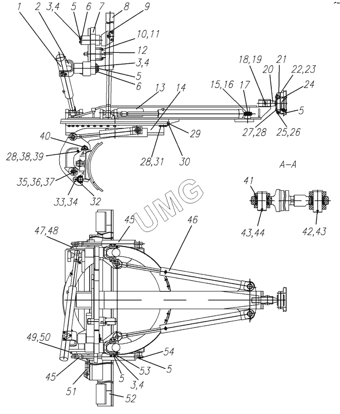
TG-140. Оборудование рабочее 723.07.00.00.000-03
1
2
3
3
3
4
4
4
5
5
5
5
5
6
6
7
8
9
10
11
12
13
14
15
16
17
18
19
20
21
22
23
24
25
26
27
28
28
28
29
30
31
32
33
34
35
36
37
38
39
40
41
42
43
43
44
45
45
46
47
48
49
50
51
52
53
54
| Позиция на иллюстрации | Заводской номер детали | Название детали | |
|---|---|---|---|
| 1 | 257.07.02.00.000 | Гидроцилиндр | |
| 2 | 255.05.02.01.100-02 | Вилка | |
| 3 | БолтМ16-6gх40.58.016 | Болт | |
| 4 | 99502052 | Шайба 16.65 Г | |
| 5 | 4158740101 | Масленка 1.3 | |
| 6 | 255.05.02.01.002 | Крышка | |
| 7 | 257.07.03.00.000 | Кронштейн | |
| 8 | 257.07.02.00.000-01 | Гидроцилиндр | |
| 9 | 255.05.02.01.300 | Вилка | |
| 10 | БолтМ20-6gх50.58.016 | Болт | |
| 11 | 99502053 | Шайба 20.65Г | |
| 12 | 257.07.04.00.000 | Цилиндр фиксации | |
| 13 | 723.07.01.00.000 | Рама тяговая | |
| 14 | 257.07.10.00.000 | Круг поворотный | |
| 15 | БолтМ8-6gх20.58.016 | Болт | |
| 16 | 99502049 | Шайба | |
| 17 | 237.17.00.00.008 | Шайба | |
| 18 | 257.07.00.00.002 | Палец | |
| 19 | 99601177 | Шплинт 8х45.06 | |
| 20 | 257.07.00.00.001 | Шкворень | |
| 21 | 257.07.00.00.003 | Опора | |
| 22 | 257.07.00.00.005 | Прокладка | |
| 23 | 257.07.00.00.005-01 | Прокладка | |
| 24 | 257.07.00.00.004 | Опора | |
| 25 | БолтМ10-6gх40.58.016 | Болт | |
| 26 | 99502050 | Шайба 10.65Г | |
| 27 | БолтМ24х2-8gх100.46.06 | Болт | |
| 28 | 99502056 | Шайба 24.65Г | |
| 29 | 237.17.00.00.002 | Прокладка | |
| 30 | 237.17.00.00.001 | Сектор | |
| 31 | 237.17.00.00.007 | Болт | |
| 32 | 257.07.05.00.001 | Вкладыш | |
| 33 | 99303066 | Винт В.М10-6gх35.22Н.06 | |
| 34 | ГайкаМ10.6Н.5.016 | Гайка | |
| 35 | 257.07.00.00.007 | Гайка | |
| 36 | 257.07.00.00.008 | Шайба | |
| 37 | 99601167 | Шплинт | |
| 38 | 237.17.00.00.004 | Стяжка | |
| 39 | 99401479 | Гайка М24х2-7Н.8.45.06 | |
| 40 | 225.07.13.00.001 | Вкладыш | |
| 41 | 723.07.00.00.002 | Кольцо | |
| 42 | 723.07.00.00.001-01 | Палец | |
| 43 | 99601166 | Шплинт | |
| 44 | 723.07.00.00.001 | Палец | |
| 45 | ГЦ02-80х50х280.УХЛ1 | Гидроцилиндр ГЦ02-80х50х280.УХЛ1 | |
| 46 | ГЦ02-100х50х1000УХЛ1 | Гидроцилиндр | |
| 47 | 723.07.05.00.000 | Кронштейн | |
| 48 | 723.07.05.01.000 | Кронштейн | |
| 49 | 257.07.06.00.000 | Кронштейн | |
| 50 | 257.07.06.01.000 | Кронштейн | |
| 51 | ГЦ02-80х50х1400АУХЛ1 | Гидроцилиндр | |
| 52 | 723.07.12.00.000 | Отвал | |
| 53 | 255.05.02.01.200 | Втулка | |
| 54 | КольцоВ40 | Кольцо |