Товары
Каталог запчастей
Личный кабинет
Авторизация
Портал для заказа запасных частей
В товарах
В каталоге запчастей
Внимание!!! Сайт только для тестирования.
Каталоги запчастей к технике UMG
Брянский Арсенал
TG-140
Дроссель с обратным клапаном 730.15.01.04.000
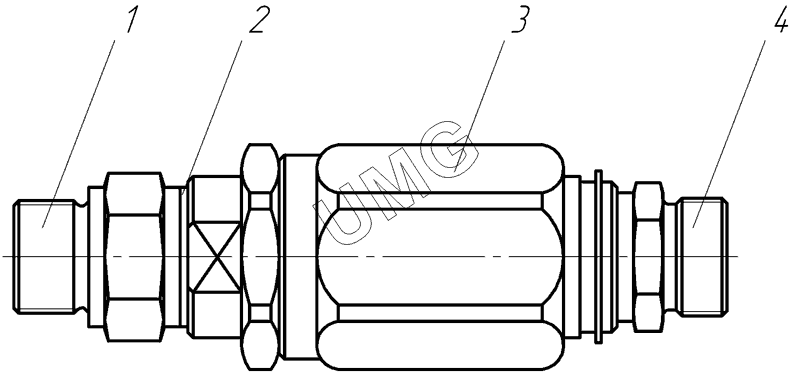
TG-140. Дроссель с обратным клапаном 730.15.01.04.000
zoom-in
zoom-out
enlarge
shrink
circle-right
circle-left
file-text2
info
cart
1
2
3
4
Позиция на иллюстрации
Заводской номер детали
Название детали
1
730.15.01.04.001
Штуцер
2
G1/2М3
Прокладка G1/2М3
3
VRF1/2
Дроссель VRF 1/2
4
TN92GG-15LR
Адаптер TN92GG-15LR
Дополнительная информация
×
Название:
Номер:
Примечание:
АвтоКаталог-онлайн предоставлен
Компанией АвтоСофт