Товары
Каталог запчастей
Личный кабинет
Авторизация
Портал для заказа запасных частей
В товарах
В каталоге запчастей
Внимание!!! Сайт только для тестирования.
Каталоги запчастей к технике UMG
Брянский Арсенал
TG-140
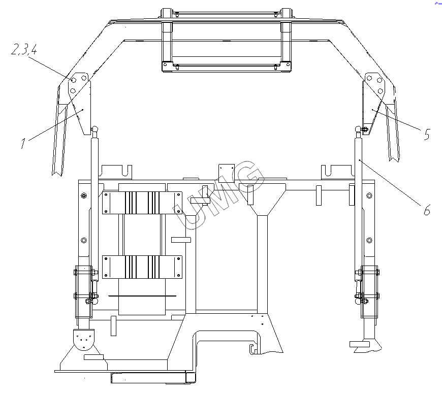
Установка пружин газовых 172.34.00.00.000
TG-140. Установка пружин газовых 172.34.00.00.000
zoom-in
zoom-out
enlarge
shrink
circle-right
circle-left
file-text2
info
cart
1
2
3
4
5
6
Позиция на иллюстрации
Заводской номер детали
Название детали
1
172.34.01.00.000
Кронштейн
2
БолтМ10х75
Болт М10х75
3
Шайба10.65Г
Шайба10.65Г
4
Шайба10
Шайба
5
172.34.01.00.000-01
Кронштейн
6
GS-28-500-CC-1700
Пружина газовая
Дополнительная информация
×
Название:
Номер:
Примечание:
АвтоКаталог-онлайн предоставлен
Компанией АвтоСофт