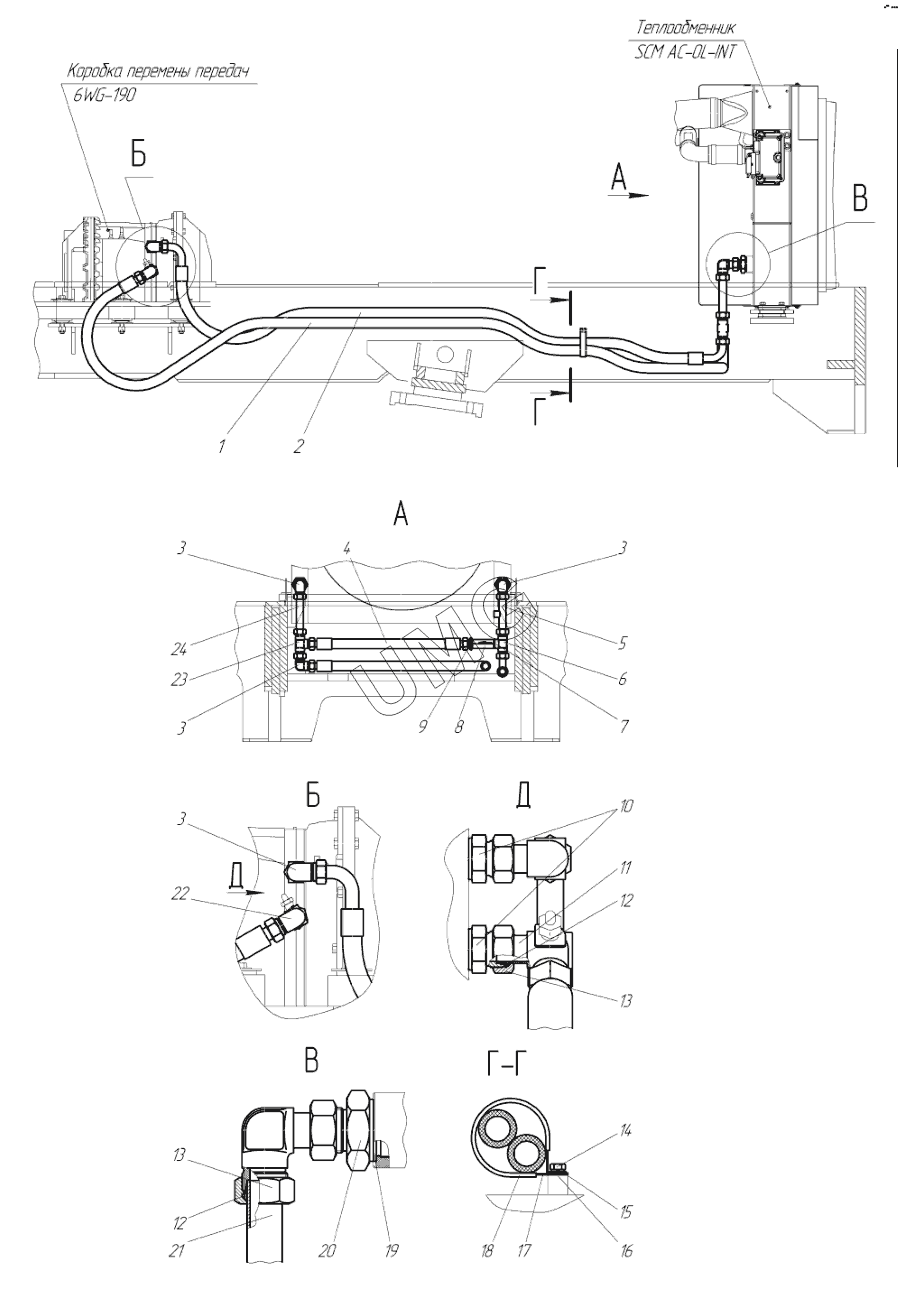
TG-200 (770.исп.01). Гидросистема КПП 760.20.00.00.000-01
6WG-190
SCMAC-OL-INT
1
2
3
3
3
3
4
5
6
7
8
9
10
11
12
12
13
13
14
15
16
17
18
19
20
21
22
23
24
| Позиция на иллюстрации | Заводской номер детали | Название детали | |
|---|---|---|---|
| 6WG-190 | 6WG-190 | Коробка передач | |
| SCMAC-OL-INT | SCMAC-OL-INT | Теплообменник | |
| 1 | РВД25.17.3300.М36х2.0/90 | РВД 25.17.3300.М36х2.0/90 | |
| 2 | РВД25.17.3000.М36х2.0/90 | РВД 25.17.3000.М36х2.0/90 | |
| 3 | TN119-28L | Адаптер TN 119-28L | |
| 4 | РВД25.17.650.М36х2 | РВД 25.17.650.М36х2 | |
| 5 | 760.20.01.00.000 | Труба | |
| 6 | 760.20.00.00.004 | Тройник | |
| 7 | Прокладка27М3 | Прокладка 27М3 | |
| 8 | КО15/3Т2G | Гидроклапан обратный КО15/3Т2G | |
| 9 | TN92GG-28LR3/4 | Адаптер TN 92GG-28LR 3/4 | |
| 10 | TN92-28L-15/16-12UN | Адаптер | |
| 11 | 760.20.03.00.001 | Угольник | |
| 12 | TN88-28L | Кольцо врезное TN88-28L | |
| 13 | TN81-28L | Гайка накидная TN81-28L | |
| 14 | БолтМ8х167798 | Болт М8х16 | |
| 15 | Шайба865Г | Шайба | |
| 16 | ШайбаС.8х1,4 | Шайба С.8х1,4 | |
| 17 | 285.05.00.00.011 | Хомут | |
| 18 | 723.10.00.00.005 | Трубка | |
| 19 | Прокладка42М3 | Прокладка | |
| 20 | 760.20.00.00.002 | Штуцер | |
| 21 | 760.20.01.00.001 | Труба | |
| 22 | 760.20.03.00.000 | Угольник | |
| 23 | TN100-28L | Адаптер TN 100-28L | |
| 24 | 760.20.01.00.000 | Труба |