Товары
Каталог запчастей
Личный кабинет
Авторизация
Портал для заказа запасных частей
В товарах
В каталоге запчастей
Внимание!!! Сайт только для тестирования.
Каталоги запчастей к технике UMG
Брянский Арсенал
TG-200 (770.исп.01)
Установка задних осветительных приборов
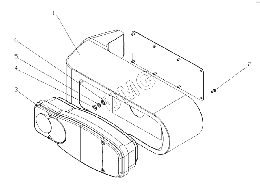
TG-200 (770.исп.01). Установка задних осветительных приборов
zoom-in
zoom-out
enlarge
shrink
circle-right
circle-left
file-text2
info
cart
1
2
3
4
5
6
Позиция на иллюстрации
Заводской номер детали
Название детали
1
172.10.01.00.000
Кронштейн правый
2
ВинтВ.М5х10
Винт В.М5х10
3
GAZ.008-PR
Комплект блок-фар задних правые + левые
4
ШайбаС8
Шайба С8
5
Шайба8.65Г
Шайба 8.65Г
6
ГайкаМ8
Гайка М8
Дополнительная информация
×
Название:
Номер:
Примечание:
АвтоКаталог-онлайн предоставлен
Компанией АвтоСофт