Товары
Каталог запчастей
Личный кабинет
Авторизация
Портал для заказа запасных частей
В товарах
В каталоге запчастей
Внимание!!! Сайт только для тестирования.
Каталоги запчастей к технике UMG
Брянский Арсенал
TG-180
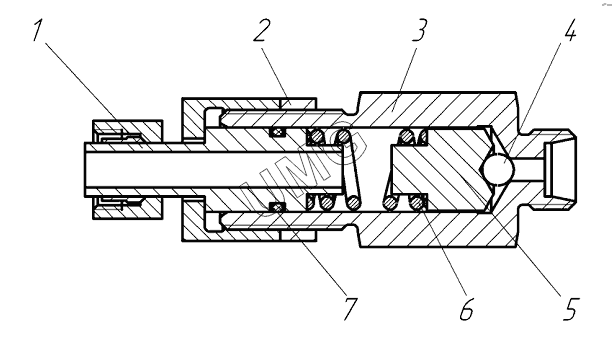
753.05.03.03.000 Клапан предохранительный
TG-180. 753.05.03.03.000 Клапан предохранительный
zoom-in
zoom-out
enlarge
shrink
circle-right
circle-left
file-text2
info
cart
1
2
3
4
5
6
7
Позиция на иллюстрации
Заводской номер детали
Название детали
1
753.05.03.03.100
Клапан
2
753.05.03.03.005
Контргайка
3
753.05.03.03.001
Корпус клапана
4
ГОСТ3722
Шарик
5
753.05.03.03.003
Толкатель
6
753.05.03.03.006
Пружина
7
ГОСТ9833
Кольцо
Дополнительная информация
×
Название:
Номер:
Примечание:
АвтоКаталог-онлайн предоставлен
Компанией АвтоСофт