В товарах В каталоге запчастей

TG-180. 761.47.00.00.000 Установка крыльев передних

zoom-in zoom-out enlarge shrink circle-right circle-left file-text2 info cart
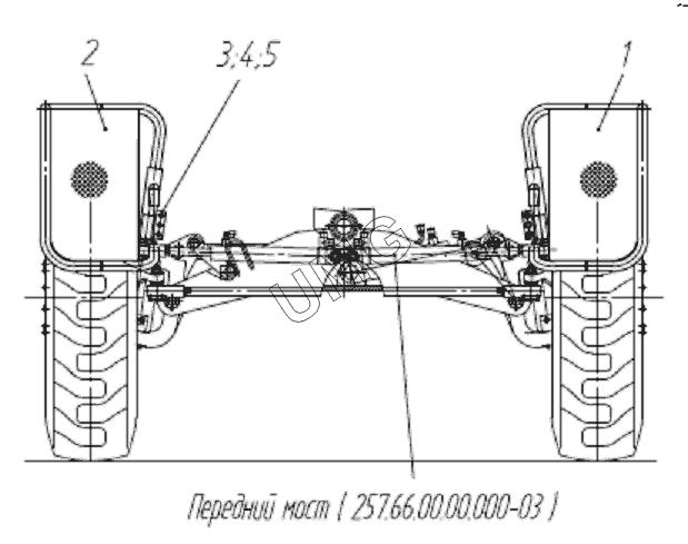
257.66.00.00.000-03
1
2
3
4
5
Позиция на иллюстрации Заводской номер детали Название детали
257.66.00.00.000-03 257.66.00.00.000-03 Передний мост
1 761.47.01.00.000 Крыло
2 761.47.01.00.000-01 Крыло
3 БолтМ16-6gх60.58.016 Болт М16-6gх60.58.016
4 ГайкаМ16-6Н.5.016 Гайка
5 Шайба16.65Г.016 Шайба.65Г.016
АвтоКаталог-онлайн предоставлен Компанией АвтоСофт