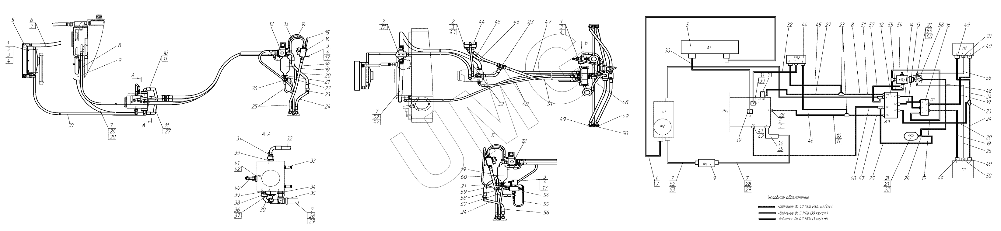
ГС-25.09. Гидросистема переднего моста 257.12.00.00.000
1
1
2
2
3
3
3
3
3
3
4
4
4
5
5
5
5
6
6
6
7
7
7
7
7
7
7
8
8
9
9
10
10
11
11
11
12
12
12
13
13
14
14
15
15
16
16
17
17
17
18
18
19
19
19
19
20
20
21
21
21
21
22
22
23
23
23
23
24
24
24
24
25
25
25
26
26
27
27
28
28
28
29
29
29
30
30
30
31
31
32
32
32
33
33
34
34
35
35
36
37
38
38
39
39
39
39
40
40
40
41
41
42
42
43
44
44
45
45
46
46
47
47
48
48
49
49
49
49
49
49
50
50
50
51
51
52
52
53
53
54
54
55
55
56
56
57
57
58
58
59
59
60
60
| Позиция на иллюстрации | Заводской номер детали | Название детали | |
|---|---|---|---|
| 1 | БолтМ8х25 | Болт | |
| 2 | ГайкаМ8-6Н.5 | Гайка | |
| 3 | Шайба8.65Г | Шайба 8.65Г | |
| 4 | ШайбаС.8х1,4 | Шайба С.8х1,4 | |
| 5 | 257.12.02.00.000 | Теплообменник | |
| 6 | 257.12.00.00.005 | Рукав | |
| 7 | Хомут | Хомут пластиковый | |
| 8 | РВД16.25.8000.М26х1,5 | РВД | |
| 9 | 257.12.05.00.000 | Фильтр всасывающий | |
| 10 | РВД | РВД | |
| 11 | Кольцо32,92х3,53 | Кольцо резиновое | |
| 12 | 257.12.04.00.000 | Клапан свободного вращения в сборе | |
| 13 | РВД8.35.400.М16х1,5.0/90 | РВД | |
| 14 | 257.12.09.00.000 | Труба | |
| 15 | РВД8.35.1150.М16х1,5.0/90 | РВД | |
| 16 | 257.12.03.00.000 | Делитель потока | |
| 17 | БолтМ8х20 | Болт | |
| 18 | Аккумулятор | Аккумулятор | |
| 19 | РВД | РВД | |
| 20 | РВД | РВД | |
| 21 | ГайкаМ33х1,5-6Н | Гайка | |
| 22 | TN92GG-15LМ22х1,5 | Адаптер | |
| 23 | TN100-20S | Адаптер | |
| 24 | РВД | РВД | |
| 25 | РВД12.28.1250.М22х1,5.0/90 | РВД | |
| 26 | TN121-15L | Адаптер | |
| 27 | РВД | РВД | |
| 28 | 257.12.00.00.004 | Рукав | |
| 29 | 257.12.00.00.010-01 | Спираль | |
| 30 | РВД20.22.4500.М30х2.90/90 | РВД | |
| 31 | TN132А-22/15L | Адаптер | |
| 32 | РВД12.28.1050.М22х1,5.0/90 | РВД | |
| 33 | Датчик | Датчик | |
| 34 | TN92-28L-15/16-12UN | Адаптер | |
| 35 | 257.12.08.00.000 | Угольник | |
| 36 | 271.45.00.00.026 | Болт | |
| 37 | Шайба10.65Г | Шайба10.65Г | |
| 38 | DB60001U | Полуфланец | |
| 39 | TN92-22L-11/16-12UN | Адаптер | |
| 40 | РВД12.28.4850.М22х1,5.0/90 | РВД | |
| 41 | 257.12.00.00.008 | Штуцер | |
| 42 | Прокладка33М3 | Прокладка | |
| 43 | 257.12.00.00.006 | Винт | |
| 44 | 257.12.01.00.000 | Клапан промывочный | |
| 45 | РВД | РВД | |
| 46 | РВД | РВД | |
| 47 | РВД | РВД | |
| 48 | РВД12.28.850.М22х1,5.90/90 | РВД | |
| 49 | TN92-20S-11/16-12UN | Адаптер | |
| 50 | TN92-15L-3/4-16UNF | Адаптер | |
| 51 | РВД | РВД | |
| 52 | 257.12.00.00.003 | Рукав | |
| 53 | 257.12.00.00.010 | Спираль | |
| 54 | 257.12.06.00.000 | Клапан предохранительный | |
| 55 | РВД8.35.450.М16х1,5 | РВД | |
| 56 | РВД12.28.850.М22х1,5.0/90 | РВД | |
| 57 | РВД16.25.1650.М26х1,5.90/90 | РВД | |
| 58 | 257.12.07.00.000 | Коллектор | |
| 59 | TN126АGG-18LМ | Адаптер | |
| 60 | Аккумулятор | Аккумулятор |