В товарах В каталоге запчастей

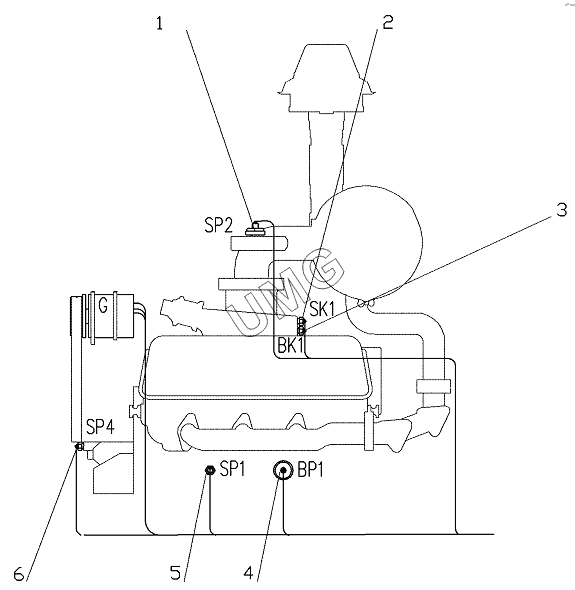
ГС-25.09. Установка датчиков на двигателе

zoom-in zoom-out enlarge shrink circle-right circle-left file-text2 info cart
1
2
3
4
5
6
Позиция на иллюстрации Заводской номер детали Название детали
1 132.3839600 Датчик сигнализатора засоренности воздушного фильтра 132.3839600
2 ТМ111-01 Датчик сигнализатора температуры ТМ111-01
3 ТМ100-В Датчик ТМ 100-В
4 18.3829010 Датчик 18.3829010
5 2602.3829010 Датчик сигнализатора давления 2602.3829010
6 Датчик Датчик
АвтоКаталог-онлайн предоставлен Компанией АвтоСофт