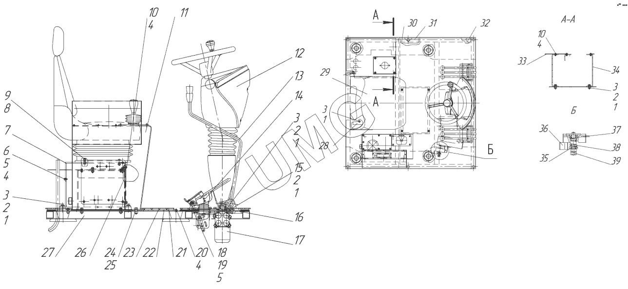
ГС-25.09. 257.04.00.00.000 Место рабочее
1
1
1
1
1
2
2
2
2
3
3
3
3
4
4
4
4
5
5
6
7
8
9
10
10
11
12
13
14
15
16
17
18
19
20
21
22
23
24
25
26
27
28
29
30
31
32
33
34
35
36
37
38
39
| Позиция на иллюстрации | Заводской номер детали | Название детали | |
|---|---|---|---|
| 1 | ШайбаС.10 | Шайба С.10 | |
| 2 | Шайба10.65Г | Шайба10.65Г | |
| 3 | БолтМ10х25 | Болт М10х25 | |
| 4 | ШайбаС.6 | Шайба | |
| 5 | Шайба6.65Г | Шайба | |
| 6 | БолтМ6х12 | Болт М6х12 | |
| 7 | 274.04.02.09.000 | Опора | |
| 8 | Шайба8.65Г | Шайба 8.65Г | |
| 9 | БолтМ8х30 | Болт М8х30 | |
| 10 | ВинтВ.М6х16 | Винт В.М 6х16 | |
| 11 | 257.04.04.00.000 | Пульт | |
| 12 | НР–КР.24V-001 | Рулевая колонка модели | |
| 13 | 257.04.06.00.000 | Установка рычагов | |
| 14 | 257.04.07.00.000 | Доработка педали газа | |
| 15 | БолтМ10х30 | Болт М10х30 | |
| 16 | 721.04.00.00.004 | Прокладка | |
| 17 | 257.04.05.00.000 | Насос-дозатор | |
| 18 | БолтМ6х20 | Болт М6х20 | |
| 19 | ГайкаМ6 | Гайка | |
| 20 | ВинтВ.М6х10 | Винт ВМ 6х10 | |
| 21 | 257.04.00.00.006 | Коврик | |
| 22 | 257.04.00.00.005 | Коврик | |
| 23 | 237.04.01.00.001 | Крышка | |
| 24 | БолтМ12х30 | Болт М12х30 | |
| 25 | Шайба12.65Г | Шайба12.65Г | |
| 26 | 274.04.02.00.003 | Пластина | |
| 27 | 257.04.01.00.000 | Каркас площадки | |
| 28 | 721.04.03.00.000 | Лист | |
| 29 | F2001SM80X | Сиденье оператора | |
| 30 | 721.04.00.00.003-01 | Прокладка | |
| 31 | 721.04.00.00.003 | Прокладка | |
| 32 | 721.04.00.00.004 | Прокладка | |
| 33 | 257.04.00.00.002 | Лист | |
| 34 | 257.04.10.00.000 | Опора | |
| 35 | 225.04.03.07.002 | Пружина | |
| 36 | 271.04.02.04.000 | Фиксатор | |
| 37 | 225.04.03.07.001 | Кольцо фрикционное | |
| 38 | 225.04.03.07.701 | Втулка | |
| 39 | ГайкаМ12 | Гайка М12 |