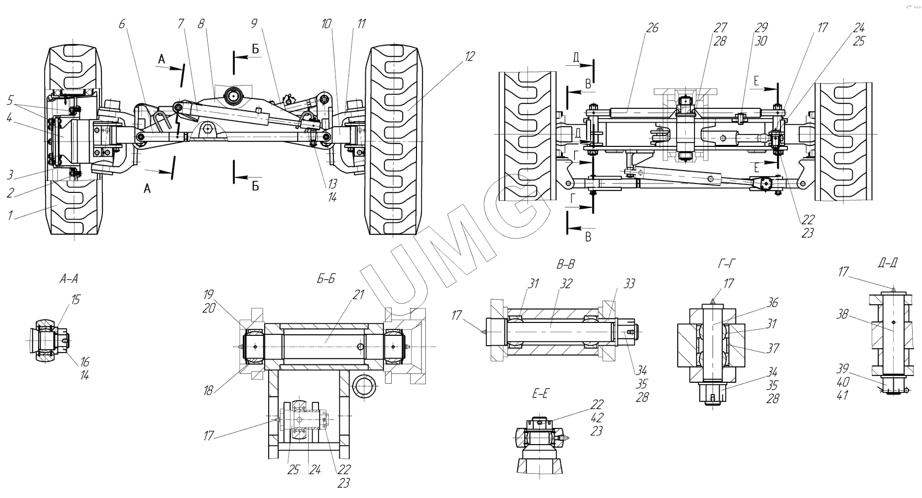
ГС-25.09. 257.66.00.00.000 (исп.00 и исп.02) Мост передний
1
2
3
4
4
5
6
7
8
9
10
11
11
12
13
14
14
15
16
17
17
17
17
17
18
19
20
21
22
22
22
23
23
23
24
24
25
25
26
27
28
28
28
29
30
31
31
32
33
34
34
35
35
36
37
38
39
40
41
42
| Позиция на иллюстрации | Заводской номер детали | Название детали | |
|---|---|---|---|
| 1 | 257.06.04.00.000-01 | Колесо | |
| 2 | 257.06.00.00.002 | Болт колесный | |
| 3 | 257.66.06.00.000 | Ступица | |
| 4 | 257.66.02.00.000-01 | Гидромотор | |
| 4 | 257.66.02.00.000-00 | Гидромотор | |
| 5 | ГайкаМ22х1,5 | Гайка колесная | |
| 6 | 257.66.09.00.000 | Тяга | |
| 7 | 257.66.08.00.000 | Гидроцилиндр | |
| 8 | 257.66.01.00.000 | Балка | |
| 9 | ГЦ02-80х50х280 | Гидроцилиндр ГЦ02-80х50х280 | |
| 10 | 257.66.10.00.000 | Крестовина | |
| 11 | 257.66.03.00.000-00 | Гидромотор | |
| 11 | 257.66.03.00.000-01 | Гидромотор | |
| 12 | 257.66.04.00.000 | Колесо | |
| 13 | ГОСТ5918-73 | Гайка | |
| 14 | Шплинт5х45 | Шплинт 5х45 | |
| 15 | 255.06.00.00.004 | Крышка | |
| 16 | ГОСТ5919-73 | Гайка | |
| 17 | Масленка1.3.Ц6 | Масленка 1.3.Ц6 | |
| 18 | ШСЛ60 | Подшипник | |
| 19 | 237.06.00.00.003 | Крышка | |
| 20 | КольцоВ60 | Кольцо | |
| 21 | 237.06.00.00.001 | Ось | |
| 22 | ГайкаМ30х2 | Гайка М30х2 | |
| 23 | Шплинт6,3х63 | Шплинт 6,3х63 | |
| 24 | 257.66.00.00.007 | Втулка | |
| 25 | 257.66.00.00.006 | Ось | |
| 26 | 257.66.07.00.000 | Штанга | |
| 27 | 237.06.00.00.002 | Палец | |
| 28 | Шплинт4х40 | Шплинт 4х40 | |
| 29 | 200.01.00.00.035 | Защелка | |
| 30 | 257.66.00.00.003 | Палец | |
| 31 | ШС25 | Подшипник | |
| 32 | 257.66.00.00.004 | Ось | |
| 33 | 257.66.00.00.005 | Втулка | |
| 34 | Гайка 2М20х1,5 | Гайка 2М20х1,5 | |
| 35 | Шайба С.20 | Шайба С.20 | |
| 36 | 257.66.00.00.001 | Ось | |
| 37 | 257.66.00.00.002 | Втулка | |
| 38 | 237.06.00.00.004 | Ось | |
| 39 | Гайка М36х3 | Гайка М36х3 | |
| 40 | Шайба С.36 | Шайба С.36 | |
| 41 | Шплинт 6,3х71 | Шплинт 6,3х71 | |
| 42 | Шайба С.30 | Шайба С.30 |