Товары
Каталог запчастей
Личный кабинет
Авторизация
Портал для заказа запасных частей
В товарах
В каталоге запчастей
Внимание!!! Сайт только для тестирования.
Каталоги запчастей к технике UMG
Брянский Арсенал
ГС-18.07
Установка лампы подкапотной и розетки
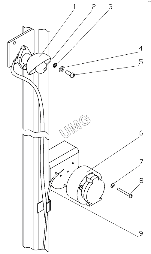
ГС-18.07. Установка лампы подкапотной и розетки
zoom-in
zoom-out
enlarge
shrink
circle-right
circle-left
file-text2
info
cart
1
2
3
4
5
6
7
8
9
Позиция на иллюстрации
Заводской номер детали
Название детали
1
ПД308АО
Лампа подкапотная
2
А24-5-1
Лампа А24-5-1
3
Шайба6.65Г
Шайба
4
ШайбаС6х1,4
Шайба
5
ВинтВ.М6х10
Винт ВМ 6х10
6
ПС400
Розетка
7
ШайбаС4
Шайба С4
8
ВинтВ.М4х35
Винт В.М 4 х35
9
724.09.07.00.000
Провод
Дополнительная информация
×
Название:
Номер:
Примечание:
АвтоКаталог-онлайн предоставлен
Компанией АвтоСофт