В товарах В каталоге запчастей

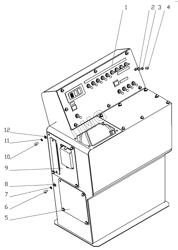
ГС-18.07. Пост управления

zoom-in zoom-out enlarge shrink circle-right circle-left file-text2 info cart
1
2
3
4
5
6
7
8
9
10
11
12
Позиция на иллюстрации Заводской номер детали Название детали
1 751.09.02.00.000 Панель
2 ШайбаС6 Шайба
3 Шайба6.65Г Шайба
4 ВинтВ.М6х10 Винт ВМ 6х10
5 751.09.04.00.000 Крышка
6 ВинтВ.М6х10 Винт ВМ 6х10
7 Шайба6.65Г Шайба
8 ШайбаС6 Шайба
9 751.09.03.00.000 Крышка
10 ВинтВ.М6х10 Винт ВМ 6х10
11 Шайба6.65Г Шайба
12 ШайбаС6 Шайба
АвтоКаталог-онлайн предоставлен Компанией АвтоСофт