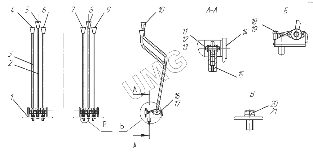
ГС-18.07. 257.04.06.00.000 Установка рычагов
1
2
3
4
5
6
7
8
9
10
11
12
13
14
15
16
17
18
19
20
21
| Позиция на иллюстрации | Заводской номер детали | Название детали | |
|---|---|---|---|
| 1 | 257.04.06.01.000 | Кронштейн | |
| 2 | 257.04.06.02.000 | Рычаг | |
| 3 | 257.04.06.02.000-01 | Рычаг | |
| 4 | 225.44.03.02.015 | Табличка | |
| 5 | 225.44.03.02.011 | Табличка | |
| 6 | 225.44.03.02.012 | Табличка | |
| 7 | 225.44.03.02.009 | Табличка | |
| 8 | 225.44.03.02.014 | Табличка | |
| 9 | 225.44.03.02.016 | Табличка | |
| 10 | 225.44.03.02.006 | Ручка | |
| 11 | 225.04.03.00.009 | Палец | |
| 12 | ШайбаС.8х1,4 | Шайба С.8х1,4 | |
| 13 | Шплинт2,5х16 | Шплинт 2,5х16 | |
| 14 | 257.04.06.04.000 | Ось | |
| 15 | 257.04.06.00.001 | Вилка | |
| 16 | ВинтВМ6х10 | Винт ВМ6х10 | |
| 17 | Шайба6.65Г | Шайба | |
| 18 | БолтМ10х45 | Болт | |
| 19 | ГайкаМ10 | Гайка М10 | |
| 20 | БолтМ10х35 | Болт М10х35 | |
| 21 | Шайба10.65Г | Шайба10.65Г |