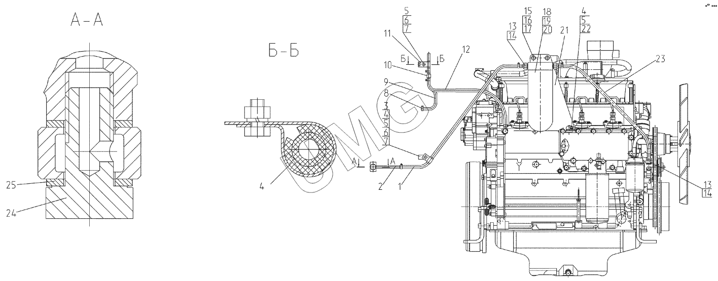
ГС-14.03. Система питания 724.02.05.00.000
1
2
3
4
4
4
5
5
5
6
6
7
7
8
9
10
11
12
13
13
14
14
15
16
17
18
19
20
21
22
23
24
25
| Позиция на иллюстрации | Заводской номер детали | Название детали | |
|---|---|---|---|
| 1 | 724.02.05.00.012 | Рукав | |
| 2 | 250.02.08.02.000 | Трубка топливная | |
| 3 | 724.02.05.00.017 | Хомут | |
| 4 | 724.02.05.00.014 | Прокладка | |
| 5 | БолтМ8-6gх16 | Болт | |
| 6 | ГайкаМ8-6Н | Гайка | |
| 7 | Шайба8.65Г | Шайба 8.65Г | |
| 8 | NP-W1/16-27/9 | Хомут червячный | |
| 9 | 724.02.05.00.011 | Рукав | |
| 10 | Клапан | Клапан предохранительный | |
| 11 | 724.02.05.00.016 | Хомут | |
| 12 | 724.02.05.00.010 | Рукав | |
| 13 | 217.11.01.00.001 | Штуцер | |
| 14 | Прокладка16М3 | Прокладка | |
| 15 | БолтМ10-6gх30 | Болт | |
| 16 | ГайкаМ10-7Н | Гайка | |
| 17 | Шайба10.65Г | Шайба10.65Г | |
| 18 | Заглушка | Заглушка | |
| 19 | Кольцо | Кольцо | |
| 20 | Фильтр | Фильтр | |
| 21 | 724.02.05.01.000 | Кронштейн | |
| 22 | ШайбаС.8.02.Ст3сп | Шайба | |
| 23 | 724.02.05.00.013 | Рукав | |
| 24 | Болт | Болт | |
| 25 | 200.02.00.00.007 | Кольцо |